Montageübersicht - Kolben und Pleuel

Kolbeneinbaulage und Zuordnung Kolben zum Zylinder

Einbaulage Lagerschale
- Lagerschalen mittig in den Pleuel und in den Pleuellagerdeckel einsetzen.

Neue Pleuel trennen
Bei neuen Pleueln kann es vorkommen, dass die Sollbruchstelle nicht ganz durchbrochen ist. Wenn sich der Pleuellagerdeckel nicht von Hand abnehmen lässt, gehen Sie wie folgt vor:
- Um Beschädigungen zu vermeiden, Pleuel nur leicht in einen Schraubstock mit Schutzbacken einspannen, wie in der Abbildung gezeigt.
- Schrauben -Pfeile- etwa 5 Umdrehungen herausdrehen.

- Mit einem Kunststoffhammer vorsichtig gegen den Pleuellagerdeckel schlagen -Pfeil-, bis dieser lose ist.

Kolben aus- und einbauen
Benötigte Spezialwerkzeuge, Prüf- und Messgeräte sowie Hilfsmittel
Ausbauen
- Zylinderkopf ausbauen
- Ölwannenoberteil ausbauen.
- Einbaulage und Zugehörigkeit des Kolbens zum Zylinder kennzeichnen.
- Einbaulage und Zugehörigkeit des Pleuels zum Zylinder und zum Pleuellagerdeckel - kennzeichnen.
- Pleuellagerdeckel ausbauen und Kolben mit Pleuel nach oben herausziehen.
Hinweis
Bei Schwergängigkeit des Kolbenbolzens erwärmen Sie den Kolben auf etwa 60 ºC.
- Sicherungsring aus dem Kolbenbolzenauge abnehmen.
- Kolbenbolzen mit dem Dorn -VW 222 A- austreiben.
Einbauen
Der Einbau erfolgt in umgekehrter Reihenfolge, dabei Folgendes beachten:
Hinweis
Schrauben, die mit Weiterdrehwinkel festgezogen werden, ersetzen.
- Laufflächen der Lagerschalen einölen.
- Kolben mit handelsüblichem Kolbenringspannband einbauen, Einbaulage beachten.
- Pleuellagerdeckel einbauen, Einbaulage beachten.
- Zylinderkopf einbauen.
- Ölwannenoberteil einbauen.
Anzugsdrehmomente
Ölspritzdüsen aus- und einbauen
Benötigte Spezialwerkzeuge, Prüf- und Messgeräte sowie Hilfsmittel
Ausbauen
- Geräuschdämpfung ausbauen → Karosserie-Montagearbeiten Außen.
- Ölwannenoberteil ausbauen.
Hinweis
- Die Kurbelwelle an der Befestigungsschraube Schwingungsdämpfer in Motordrehrichtung drehen, bis die jeweilige Schraube erreichbar ist.
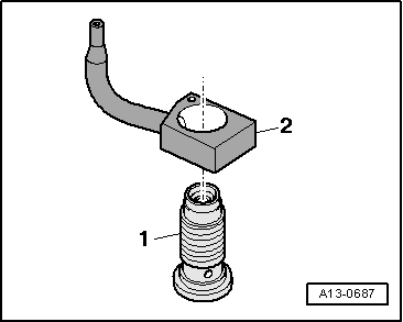
- Überdruckventil -1- mit Steckeinsatz -T10545- herausdrehen.
- Ölspritzdüsen -2- abnehmen.
Einbauen
Beschädigungsgefahr der Ölspritzdüsen durch Verformung.Niemals Ölspritzdüsen verbiegen.

- Ölwannenoberteil einbauen.
- Geräuschdämpfung einbauen.

Kolben und Zylinderbohrung prüfen
Kolben prüfen
- Mit einem Außenmikrometer etwa 10 mm von der Unterkante, 90º zur Kolbenbolzenachse versetzt messen.


Kolbenring-Stoßspiel messen
- Kolbenring rechtwinklig zur Zylinderwand von oben bis etwa 15 mm vom Zylinderrand entfernt in die untere Zylinderöffnung einschieben.
- Zum Einschieben einen Kolben ohne Kolbenringe verwenden.


Kolbenring-Höhenspiel messen
- Vor der Prüfung Ringnut des Kolbens reinigen.


Zylinderbohrung messen
Beschädigungsgefahr der Oberfläche der Zylinderbohrung durch falsches Bearbeiten.Niemals Zylinderbohrung mit Werkstattmitteln bearbeiten (aufbohren, honen, schleifen).
- Mit dem Innenfeinmessgerät -VAS 6078- an 3 Stellen über Kreuz in Querrichtung -A- und in Längsrichtung -B- messen.


Hinweis
Die Messung der Zylinderbohrung darf nicht durchgeführt werden, wenn der Zylinderblock am Motor- und Getriebehalter -VAS 6095- befestigt ist, da Fehlmessungen möglich sind.
Radialspiel der Pleuel prüfen
Benötigte Spezialwerkzeuge, Prüf- und Messgeräte sowie Hilfsmittel
Arbeitsablauf
- Pleuellagerdeckel ausbauen.
- Lagerdeckel und -zapfen reinigen.
- Plastigage der Lagerbreite entsprechend auf den Lagerzapfen oder in die Lagerschalen legen.
- Pleuellagerdeckel aufsetzen und mit 30 Nm ohne Weiterdrehwinkel festziehen, dabei Kurbelwelle nicht verdrehen.
- Pleuellagerdeckel wieder ausbauen.
- Breite des Plastigage mit der Messskala vergleichen.
- Schrauben für Pleuel ersetzen.
KurbelwelleVolkswagen Passat Variant Betriebsanleitung > Richtig und sicher sitzen. Sitzposition einstellen: Kopfstütze hinten aus- und einbauen
Abb. 63 Kopfstütze hinten ausbauen (Variante
1).
Abb. 64 Kopfstütze hinten ausbauen (Variante
2).
Lesen und beachten Sie zuerst die einleitenden Informationen
und Sicherheitshinweise →Einleitung
zum Thema Alle Sitzplätze sind mit Kopfstützen ausgestattet. Die vorderen Kopfstütze ...