Montageübersicht - Federbein/Stoßdämpfer, Feder

Stoßdämpfer aus- und einbauen
Stoßdämpfer aus- und einbauen, Mehrlenkerachse, Stoßdämpfer links

Benötigte Spezialwerkzeuge, Prüf- und Messgeräte sowie Hilfsmittel
Ausbauen
- Radschrauben lösen.
- Fahrzeug anheben.
- Rad abbauen.
Fahrzeuge mit Geber für Fahrzeugniveau
- Schrauben -1- herausschrauben.
- Halter Geber für Fahrzeugniveau hinten links-2- abnehmen.

Fahrzeuge mit adaptiver Fahrwerksregelung DCC
- Steckverbindung -1- am Stoßdämpfer -2- trennen.
- Leitung -3- vom Stoßdämpfer -2- abziehen -Pfeil-.
Hinweis
Bei Feuchtigkeit im Steckerbereich die Kontakte am Dämpfer und Stecker mit Druckluft ausblasen
Fortsetzung für alle Fahrzeuge

- Federspanngerät-3- einsetzen.
ACHTUNG!
Auf richtigen Sitz der Schraubenfeder im Federhalter -V.A.G 1752/3A--2- achten (Unfallgefahr).
- Schraubenfeder so weit spannen, bis der Stoßdämpfer entlastet ist.
- Radhausschale hinten etwas zur Seite drücken.

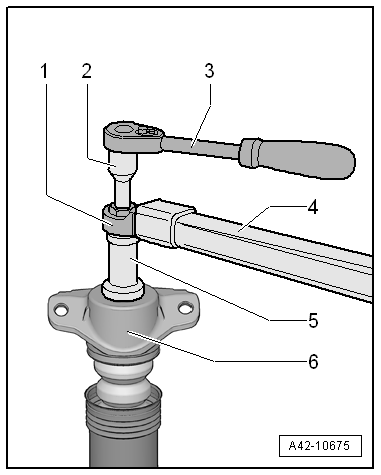
- Schrauben -1- für Stoßdämpfer -2- ausbauen.

Fahrzeuge mit Steinschlagschutz
- Spreizniete -1- ausbauen.
- Schrauben -2- für Steinschlagschutz -3- herausschrauben.
- Steinschlagschutz -3- vom Querlenker unten -4- abnehmen.
Fortsetzung für alle Fahrzeuge

- Mutter -1- abschrauben und Schraube -2- abnehmen.
- Stoßdämpfer herausnehmen.
Einbauen
Der Einbau erfolgt in umgekehrter Reihenfolge. Dabei ist Folgendes zu beachten:
- Bei Fahrzeugen mit Geber für Fahrzeugniveau die Grundeinstellung für Raddämpfungselektronik durchführen → Fahrzeugdiagnosetester
Anzugsdrehmomente

Stoßdämpfer aus- und einbauen, Mehrlenkerachse, Stoßdämpfer rechts

Benötigte Spezialwerkzeuge, Prüf- und Messgeräte sowie Hilfsmittel
Ausbauen
- Radschrauben lösen.
- Fahrzeug anheben.
- Rad abbauen.
- Radhausschale hinten ausbauen → Karosserie-Montagearbeiten Außen.
Fahrzeuge mit Geber für Fahrzeugniveau
- Schrauben -1- herausschrauben.
- Halter Geber für Fahrzeugniveau hinten links-2- abnehmen.

Fahrzeuge mit adaptiver Fahrwerksregelung DCC
- Steckverbindung -1- am Stoßdämpfer -2- trennen.
- Leitung -3- vom Stoßdämpfer -2- abziehen -Pfeil-.
Hinweis
Bei Feuchtigkeit im Steckerbereich die Kontakte am Dämpfer und Stecker mit Druckluft ausblasen
Fortsetzung für alle Fahrzeuge

- Federhalter -V.A.G 1752/3A--1- mit dem Adapter -V.A.G 1752/9--2- auf die oberste Federwindung -3- aufsetzen.

- Federspanngerät-3- auf den Adapter -V.A.G 1752/9--2- aufsetzen.
- Gleichzeitig den unteren Federhalter -V.A.G 1752/3A- in die Feder -4- einsetzen.
- Federspanngerät-3- mit dem Adapter -V.A.G 1752/9--2- verschrauben.
ACHTUNG!
Auf richtigen Sitz der Schraubenfeder im Federhalter -V.A.G 1752/3A--Pfeil- achten (Unfallgefahr).
- Schraubenfeder so weit spannen, bis der Stoßdämpfer entlastet ist.

- Schrauben -1- für Stoßdämpfer -2- ausbauen.

Fahrzeuge mit Steinschlagschutz
- Spreizniete -1- ausbauen.
- Schrauben -2- für Steinschlagschutz -3- herausschrauben.
- Steinschlagschutz -3- vom Querlenker unten -4- abnehmen.
Fortsetzung für alle Fahrzeuge

- Mutter -1- abschrauben und Schraube -2- abnehmen.
- Stoßdämpfer herausnehmen.
Einbauen
Der Einbau erfolgt in umgekehrter Reihenfolge. Dabei ist Folgendes zu beachten:
- Bei Fahrzeugen mit Geber für Fahrzeugniveau die Grundeinstellung für Raddämpfungselektronik durchführen → Fahrzeugdiagnosetester
Anzugsdrehmomente

Stoßdämpfer in Stand setzen

Benötigte Spezialwerkzeuge, Prüf- und Messgeräte sowie Hilfsmittel


Verschraubung für Dämpferlager lösen und festziehen
Der Einbau erfolgt in umgekehrter Reihenfolge. Dabei ist Folgendes zu beachten:

- Schutzrohr -1- auf das Dämpferlager -2- schieben.
- Kabelbinder -3- einsetzen und festziehen.
Hinweis
Der Verschluss -Pfeil- des Kabelbinders -3- muss sich in dem Bereich -a- befinden.
Anzugsdrehmomente

Feder aus- und einbauen
Feder aus- und einbauen, Mehrlenkerachse, Feder links Frontantrieb und Allradantrieb
Benötigte Spezialwerkzeuge, Prüf- und Messgeräte sowie Hilfsmittel

Ausbauen
- Radschrauben lösen.
- Fahrzeug anheben.
- Rad abbauen.

- Nasen -Pfeile- der Montagehilfe -1- nach innen drücken.
- Montagehilfe -1- nach oben herausnehmen.

- Federspanngerät-3- einsetzen.
ACHTUNG!
Auf richtigen Sitz der Schraubenfeder im Federhalter -V.A.G 1752/3A--2- achten (Unfallgefahr).
- Schraubenfeder so weit spannen, bis diese herausgenommen werden kann.
Hinweis
Für das Zusammendrehen des Federspanngeräts einen Schlüssel oder eine Umschaltknarre verwenden.
Einbauen
Der Einbau erfolgt in umgekehrter Reihenfolge. Dabei ist Folgendes zu beachten:
- Prüfen, ob die Unterlage nicht beschädigt ist.
- Gegebenenfalls die Unterlage ersetzen.

- Unterlage auf die Schraubenfeder unten aufsetzen.
Der Federanfang -Pfeil- muss am Anschlag der Federauflage unten anliegen.
- Feder zusammen mit der Federauflage einbauen.
- Die Federauflage unten hat einen Zapfen.

- Diesen Zapfen in die Bohrung des Querlenkers unten -Pfeil- einsetzen.

- Die Federauflage oben in das obere Federende einsetzen.
- Der Wulst der Federauflage -Pfeil- muss richtig an der Schraubenfeder anliegen.
- Schraubenfeder entspannen, dabei die obere Federauflage auf die Nase der Karosserie aufsetzen.
- Federspanngerät herausnehmen.

- Montagehilfe -1- einsetzen und nach unten drücken.
- Die Nasen -Pfeile- müssen einrasten.
Anzugsdrehmomente

Feder aus- und einbauen, Mehrlenkerachse, Feder rechts, Frontantrieb
Benötigte Spezialwerkzeuge, Prüf- und Messgeräte sowie Hilfsmittel

Ausbauen
- Radschrauben lösen.
- Fahrzeug anheben.
- Rad abbauen.

- Nasen -Pfeile- der Montagehilfe -1- nach innen drücken.
- Montagehilfe -1- nach oben herausnehmen.

- Federspanngerät-3- einsetzen.
ACHTUNG!
Auf richtigen Sitz der Schraubenfeder im Federhalter -V.A.G 1752/3A--Pfeil- achten (Unfallgefahr).
- Schraubenfeder so weit spannen, bis diese herausgenommen werden kann.
Hinweis
Für das Zusammendrehen des Federspanngeräts einen Schlüssel oder eine Umschaltknarre verwenden.
Einbauen
Der Einbau erfolgt in umgekehrter Reihenfolge. Dabei ist Folgendes zu beachten:
Hinweis

Wenn die Feder ausgetauscht wurde, dann muss diese wie im Folgenden beschrieben in das Federspanngerät -V.A.G 1752/1- eingespannt werden:
- Die Feder -1- mit den obersten 4 Windungen in das Federspanngerät -V.A.G 1752/1- bis Anschlag einspannen. Das Ende der Federwindung muss am Federhalter -V.A.G 1752/3A- anliegen -Pfeil-
ACHTUNG!
Auf richtigen Sitz der Schraubenfeder im Federhalter -V.A.G 1752/3A- achten (Unfallgefahr).

- Prüfen, ob die Unterlage nicht beschädigt ist.
- Gegebenenfalls die Unterlage ersetzen.
- Unterlage auf die Schraubenfeder unten aufsetzen.
Der Federanfang -Pfeil- muss am Anschlag der Federauflage unten anliegen.
- Feder zusammen mit der Federauflage einbauen.
- Die Federauflage unten hat einen Zapfen.

- Diesen Zapfen in die Bohrung des Querlenkers unten -Pfeil- einsetzen.

- Die Federauflage oben in das obere Federende einsetzen.
- Der Wulst der Federauflage -Pfeil- muss richtig an der Schraubenfeder anliegen.

- Feder -4- entspannen und dabei die obere Federauflage auf die Nase der Karosserie aufsetzen.
- Federspanngerät-3- herausnehmen.

- Montagehilfe -1- einsetzen und nach unten drücken.
- Die Nasen -Pfeile- müssen einrasten.
Anzugsdrehmomente

Feder aus- und einbauen, Mehrlenkerachse, Feder rechts, Allradantrieb
Benötigte Spezialwerkzeuge, Prüf- und Messgeräte sowie Hilfsmittel

Ausbauen
- Radschrauben lösen.
- Fahrzeug anheben.
- Rad abbauen.

- Fahrzeug auf beiden Fahrzeugseiten an den Tragarmen der Hebebühne mit den Spanngurten -T10038- verzurren.
ACHTUNG!
Wird das Fahrzeug nicht verzurrt, besteht die Gefahr, dass es von der Hebebühne abrutschen kann.

- Nasen -Pfeile- der Montagehilfe -1- nach innen drücken.
- Montagehilfe -1- nach oben herausnehmen.
- Motor- und Getriebeheber -V.A.G 1383 A- unter den Querlenker unten stellen und leicht nach oben drücken.

- Federspanngerät-3- einsetzen.
ACHTUNG!
Auf richtigen Sitz der Schraubenfeder im Federhalter -V.A.G 1752/3A--Pfeil- achten (Unfallgefahr).
Hinweis
Für das Zusammendrehen des Federspanngeräts einen Schlüssel oder eine Umschaltknarre verwenden.
- Schraubenfeder spannen.

- Mutter -1- abschrauben und Schraube -2- für Koppelstange -3- herausziehen.

- Mutter -1- abschrauben und die Schraube -2- für Verschraubung Stoßdämpfer herausziehen.
- Mutter -3- abschrauben und die Schraube -4- für Verschraubung Radlagergehäuse herausziehen.
ACHTUNG!
Federspanngerät -V.A.G 1752/1- mit der gespannten Feder festhalten (Unfallgefahr).
- Motor- und Getriebeheber -V.A.G 1383 A- unter dem Querlenker unten langsam ablassen, bis das Federspanngerät -V.A.G 1752/1- mit der gespannten Feder herausgenommen werden kann.
Einbauen
Der Einbau erfolgt in umgekehrter Reihenfolge. Dabei ist Folgendes zu beachten:

- Prüfen, ob die Unterlage nicht beschädigt ist.
- Gegebenenfalls die Unterlage ersetzen.
- Unterlage auf die Schraubenfeder unten aufsetzen.
Der Federanfang -Pfeil- muss am Anschlag der Federauflage unten anliegen.
- Feder zusammen mit der Federauflage einbauen.
- Die Federauflage unten hat einen Zapfen.

- Diesen Zapfen in die Bohrung des Querlenkers unten -Pfeil- einsetzen.

- Die Federauflage oben in das obere Federende einsetzen.
- Der Wulst der Federauflage -Pfeil- muss richtig an der Schraubenfeder anliegen.
ACHTUNG!
Federspanngerät -V.A.G 1752/1- mit der gespannten Feder festhalten (Unfallgefahr).
- Motor- und Getriebeheber -V.A.G 1383 A- unter dem Querlenker unten nach oben drücken.

- Schraube -4- für Verschraubung Radlagergehäuse einsetzen und Mutter -3- anschrauben.
- Schraube -2- für Verschraubung Stoßdämpfer einsetzen und Mutter -1- anschrauben.

- Schraube -2- für Koppelstange -3- einsetzen und Mutter -1- anschrauben.

- Feder -4- entspannen und dabei die obere Federauflage auf die Nase der Karosserie aufsetzen.
- Federspanngerät-3- herausnehmen.

- Montagehilfe -1- einsetzen und nach unten drücken.
- Die Nasen -Pfeile- müssen einrasten.
Anzugsdrehmomente

Achslenker,
Spurstange
Radlagerung,
LängslenkerVW Passat Reparaturanleitung > Werkstattausrüstung: Staubbindetücher
Staubbindetuch -VAS 6177-
Benennung:
Staubbindetuch -VAS 6177-
Produktbeschreibung:
Staubbindetuch
mit äußerst wirksamer Leichtklebeformel für kritische Reinigungsaufgaben. Im
Gegensatz zu herkömmlichen Staubbindetüchern hinterlässt es keine chemischen
Rückstände auf der Oberflà ...