Einbauorteübersicht - Reifendruckkontrollsystem

Systembeschreibung - Reifendruckkontrollsystem
Systembeschreibung - Reifendruckkontrollsystem, Reifenkontrollanzeige
Allgemeines:
Das System Reifenkontrollanzeige ist Bestandteil der Software im Steuergerät für ABS -J104-. Das System dient zur Erkennung von langsamen, schleichenden Reifendruckverlusten an einem Rad. Ereignisspeichereinträge zur Reifenkontrollanzeige werden im Steuergerät für ABS -J104- abgelegt. Die Reifenkontrollanzeige vergleicht mithilfe der ABS-Drehzahlfühler die Drehzahl und somit den Abrollumfang der einzelnen Räder.
Nach folgenden Arbeiten bzw. Änderungen muss bei eingeschalteter Zündung der Taster für Reifenkontrollanzeige -E492- so lange gedrückt werden, bis ein Bestätigungston ertönt:
Bei Veränderung des Abrollumfangs eines Rads wird dies durch Aufleuchten der Kontrollleuchte für Reifendruckkontrollanzeige -K220- im Schalttafeleinsatz signalisiert. Der Abrollumfang eines Reifens kann sich verändern durch:
Systemfehler im Antiblockiersystem
Wenn ein Fehler im ABS durch die Kontrollleuchte für ESP und ASR -K155- angezeigt wird, dann leuchtet auch die Kontrollleuchte für Reifendruckkontrollanzeige -K220-. Es ist aber kein Fehler im System für die Reifenkontrollanzeige abgelegt.
Die Kontrollleuchte kann nicht gelöscht werden. In diesem Fall bitte folgende Schritte ausführen:
- → Fahrzeugdiagnosetester anschließen und "Geführte Fehlersuche" anwählen → Fahrzeugdiagnosetester.
Den Anweisungen auf dem Bildschirm folgen, um die Grundeinstellung vorzunehmen.
Grundeinstellung mit dem Infotainment-System durchführen
- Zündung einschalten.
- Infotainment-System einschalten.
- Infotainmenttaste CAR drücken.
- Funktionsfläche Setup antippen.
- Funktionsfläche Reifen antippen.
- Funktionsfläche Set antippen.
- Funktionsfläche Bestätigen antippen.

Systembeschreibung - Reifendruckkontrollsystem, Reifendruckkontrollsystem (RDKS) mit Autolocation
Weitere ausführliche Informationen zum Thema Reifendruckkontrollsystem (RDKS) mit Autolocation stehen im → Nr.488.
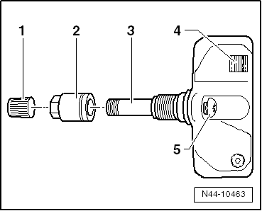
Montageübersicht - Sensor für Reifendruck
Montageübersicht - Sensor für Reifendruck, Variante 1
Hinweis

Hinweis
Keine Ventileinsätze aus Messing sondern nur vernickelte (silberne) Ventileinsätze verwenden (Korrosion!).
Hinweis
Die Sensoren für Reifendruck haben eine Lebensdauer von ca. 10 Jahren.
Montageübersicht - Sensor für Reifendruck, Variante 2

- nach jeder Demontage ersetzen
Steuergerät für Reifendruckkontrolle aus- und einbauen
Einbauort:
Das Steuergerät für Reifendruckkontrolle -J502- ist am Abschlussblech hinten rechts eingebaut.
Ausbauen
- Zündung ausschalten.
- Unterbodenverkleidung hinten rechts ausbauen.
- Nasen -Pfeile- zusammendrücken und den Halter -1- in -Pfeilrichtung A- schwenken.
- Halter -1- in -Pfeilrichtung B- abnehmen und festhalten.

- Steckverbindung -2- vom Steuergerät für Reifendruckkontrolle -J502--1- trennen.
- Halter -3- mit Steuergerät für Reifendruckkontrolle -J502--1- herausnehmen.

- Nase -Pfeil- leicht nach oben drücken und das Steuergerät für Reifendruckkontrolle -J502--1- aus dem Halter herausziehen.
Einbauen
Der Einbau erfolgt in umgekehrter Reihenfolge.

Sensor für Reifendruck aus- und einbauen
Sensor für Reifendruck aus- und einbauen, Variante 1
Benötigte Spezialwerkzeuge, Prüf- und Messgeräte sowie Hilfsmittel
Ausbauen
Hinweis
- Reifen vom Scheibenrad abmontieren.

- Mutter -1- solange entgegengesetzt des Uhrzeigersinns drehen, bis der Sensor für Reifendruck -2- abgenommen werden kann.
Hinweis
- Metallventil ausbauen.
Einbauen
Hinweis
- Metallventil einbauen.
Vorsicht!
Vor der Montage des Sensors für Reifendruck das Ventilloch säubern.

- Sensor für Reifendruck -1- an das Scheibenrad (Felge) drücken und mit neuer Schraube festziehen -Pfeil-.
- Dabei Metallventil mit Gegenhalter (zum Beispiel 2 mm Spiralbohrer) gegenhalten.
Hinweis

Anzugsdrehmomente

Sensor für Reifendruck aus- und einbauen, Variante 2
Benötigte Spezialwerkzeuge, Prüf- und Messgeräte sowie Hilfsmittel
Ausbauen
- Reifen von der Felge abmontieren.

- Mutter -1- so lange entgegengesetzt des Uhrzeigersinns drehen, bis der Sensor für Reifendruck -2- abgenommen werden kann.
Hinweis
Beim Drehen der Mutter -1- dreht sich das gesamte Ventil mit.
Einbauen
Vorsicht!

- Sensor für Reifendruck locker mit der Vierkantschraube -5- am Metallventil -3- vormontieren.
Hinweis
Darauf achten, dass das Metallventil nicht fest am Sensor verschraubt ist.
- Metallventil in das Ventilloch der Felge einsetzen.
Vorsicht!
- Neue Überwurfmutter auf das Metallventil aufschrauben. Dabei dreht sich das Metallventil und wird am Sensor für Reifendruck verschraubt.
- Überwurfmutter über den fühlbaren Bruch der Bruchscheibe hinaus mit Anzugsdrehmoment anziehen.
- Reifen auf Felge bauen.
Anzugsdrehmomente

Metallventilkörper aus- und einbauen
Benötigte Spezialwerkzeuge, Prüf- und Messgeräte sowie Hilfsmittel
Ausbauen
- Sensor für Reifendruck ausbauen.

- Mutter -1- vom Metallventil abschrauben.
- Dabei Metallventil mit Gegenhalter (zum Beispiel 2 mm Spiralbohrer) gegenhalten -Pfeil-.
Einbauen
Vorsicht!
Mutter für das Metallventil nur mit dem angegebenen Anzugsdrehmoment festziehen. Ein Nachziehen ist nicht zulässig, da dadurch die Dichtung beschädigt wird.

- Mutter -1- vom Metallventil festziehen.
- Dabei Metallventil mit Gegenhalter (zum Beispiel 2 mm Spiralbohrer) gegenhalten -Pfeil-.
- Sensor für Reifendruck einbauen.

Anzugsdrehmomente

Räder, Reifen
AchsvermessungVolkswagen Passat Variant Betriebsanleitung > Reifenkontrollsysteme: Reifenfülldruck-Kontrollsystem
Abb. 233 Prinzipdarstellung der Displayanzeige
im Kombi-Instrument: Aktuelle Reifenfülldrücke.
Lesen und beachten Sie zuerst die einleitenden Informationen
und Sicherheitshinweise →Einleitung
zum Thema Das Reifenfülldruck-Kontrollsystem (RDK) überwacht während der Fahrt
den Reifen ...