Bremsleitungen reparieren
Mit dem Bördelgerät für Bremsleitungen -VAS 6056- lassen sich Bremsleitungen mit 5 mm Rohraußendurchmesser bördeln, ohne dabei die Beschichtung zu beschädigen. Damit können in bestimmten Fällen Teilstücke von Bremsleitungen kostengünstiger ersetzt werden.
Arbeiten mit dem Bördel-Gerätesatz V.A.G. 1356 sind auf Grund der Beschichtung und dem Durchmesser der schwarzen Bremsleitungen nicht zulässig.
Hinweis
Benötigte Spezialwerkzeuge, Prüf- und Messgeräte sowie Hilfsmittel

Auflistung der einzelnen Werkzeuge:

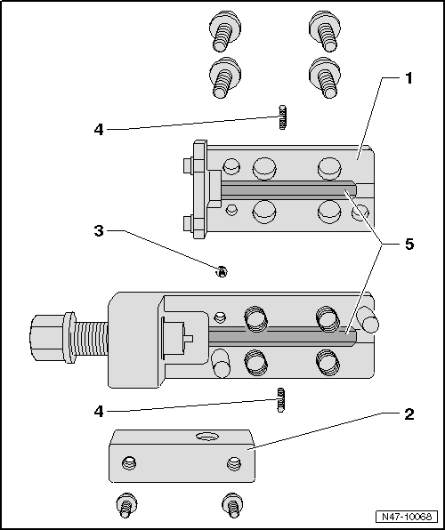
Bördelgerät - Montageübersicht

Montageanweisung Bördelbacken:
Hinweis
Der Pfeil, auf der abgerundeten Seite der Bördelbacken, muss zum Gehäuserand zeigen und die gerade Seite der Bördelbacken muss zur Spindel eingebaut sein, sonst wird der Bördelkopf nicht richtig ausgebildet.

Arbeitsanleitung
- Schrauben Sie die betroffene Bremsleitung am Bremssattel oder Radbremszylinder ab, dabei auslaufende Bremsflüssigkeit auffangen und vorschriftsmäßig entsorgen.
- Trennen Sie die Bremsleitung an geeigneter Stelle (gerades, frei zugängliches Stück) mit dem Rohrabschneider -2- durch.
- Auszutauschendes Stück entfernen.
- Bremsleitungsoberfläche entfetten.

- Klemmen Sie die Bremsleitung in der Gripzange -4- so fest, dass ca. 50mm aus den Kunststoffspannbacken herausschauen.
- Spannen Sie das Schälwerkzeug -3- in eine Bohrmaschine und setzen es auf die Bremsleitung auf.
- Schälen Sie mit langsamer Drehzahl der Bohrmaschine und unter leichtem Druck gegen die Bremsleitung die Beschichtung von der Bremsleitung ab.
Die Länge der Abschälung wird von dem Anschlag im Schälwerkzeug vorgegeben.
- Ziehen Sie das Schälwerkzeug von der Bremsleitung und entfernen Sie die Schälrückstände.

- Nehmen Sie die Gripzange ab und schieben die Rohrschraube -D- auf die Bremsleitung.

- Schieben Sie die Bremsleitung -B- gegen den Anschlag -A- im Bördelgerät.
Hinweis
Die Bremsleitung muss beim Festziehen der Innensechskantschrauben am Anschlag anliegen, sonst wird der Bördelkopf nicht richtig erzeugt.
- Spannen Sie die Bremsleitung im Bördelgerät, soweit vor bis sich die Bremsleitung nicht mehr verschieben lässt. Klappen Sie dann den Anschlag -A- hoch und ziehen Sie jetzt die Innensechskantschrauben mit dem Winkelschraubendreher -C- über Kreuz fest.

- Drehen Sie die Spindel bis zum Anschlag in das Bördelgerät.
- Drehen Sie die Spindel wieder zurück.
- Lösen Sie die Innensechskantschrauben über Kreuz.
- Nehmen Sie die Bremsleitung aus dem Bördelgerät, reinigen und überprüfen Sie die Bremsleitung und den Bördelkopf.
Den im Fahrzeug verbliebenden Teil der Bremsleitung kurz spülen:
- Bremsen- Füll- und Entlüftungsgerät -VAS 5234- anschließen, den Schlauch der Entlüfterflasche auf den Bördelkopf der Bremsleitung stecken und das Bremsen- Füll- und Entlüftungsgerät -VAS 5234- kurz laufen lassen, bis etwas Bremsflüssigkeit durchgelaufen ist.
- Die neu einzufügende Bremsleitung mit Druckluft ausblasen.

- Die Bremsleitungen mit dem Verbindungsstück -E- zusammenfügen.
- Bremsleitung montieren.
- Bremsanlage entlüften.

Unterdrucksystem
HydrauliksystemVolkswagen Passat Variant Betriebsanleitung > Verbraucherinformationen: Rücknahme von Altfahrzeugen und Verschrottung
Lesen und beachten Sie zuerst die einleitenden Informationen
und Sicherheitshinweise →Einleitung
zum Thema Rücknahme von Altfahrzeugen
Volkswagen hat bereits für den Zeitpunkt vorgesorgt, an dem das Fahrzeug einer
umweltgerechten Verwertung zugeführt wird. Zur Rücknahme eines Altfahrz ...