Montageübersicht - Scheinwerfer
Montageübersicht - Halogendoppelscheinwerfer

Montageübersicht - LED-Scheinwerfer ohne Kurvenlicht

Montageübersicht - LED-Scheinwerfer mit Kurvenlicht

Montageübersicht - Reparatursatz für Scheinwerfergehäuse

Scheinwerfer aus- und einbauen
Benötigte Spezialwerkzeuge, Prüf- und Messgeräte sowie Hilfsmittel
Hinweis
Beschrieben ist der Aus- bzw. Einbau auf der linken Seite. Der Aus- bzw. Einbau auf der rechten Seite erfolgt sinngemäß.
Ausbauen
- Kühlergrill ausbauen → Karosserie-Montagearbeiten Außen.
Vorsicht!
Gefahr der Bauteilbeschädigung.


- Schrauben -2- an der Radhausschale vorn herausdrehen.
- Schrauben -4- zwischen Stoßfängerabdeckung vorn und Schlossträger von unten herausdrehen.
- Schrauben -3- zwischen Stoßfängerabdeckung vorn und Radhausschale vorn unten herausdrehen.
- Stoßfänger -1- am Kotflügel lösen und in Pfeilrichtung -A- abziehen.
- Markierten Bereich -3- auf dem Scheinwerfer -2- abkleben.
- Die Unterseite der Kotflügelspitze -4- abkleben.
- Markierten Bereich -5- auf dem Stoßfänger -1- abkleben.


- Die Schraube -2- durch die Bohrung im Trägerteil einige Umdrehungen lösen, nicht herausdrehen.
- Die Schrauben -3, 4- und -5- herausdrehen.
- Elektrische Steckverbindung am Scheinwerfer -1- entriegeln und trennen.
- Scheinwerfer -1- nach vorn herausziehen.
Einbauen
Der Einbau erfolgt in umgekehrter Reihenfolge, dabei Folgendes beachten:
- Scheinwerfer in die Aufnahme an der Karosserie hineinschieben.
- Gleichmäßigen Fugenverlauf des Scheinwerfers einstellen.
- Stoßfänger -1- aufschieben. Dabei darauf achten, dass er in die Aufnahmen -2- unterhalb des Scheinwerfers eingeschoben wird.
- Funktionsprüfung durchführen.
- Scheinwerfereinstellung prüfen und ggf. Scheinwerfer einstellen → Heft39.1.
Anzugsdrehmomente

Scheinwerfer einstellen
Scheinwerfer einstellen
Halogendoppelscheinwerfer einstellen → Heft39.1.
Nebelscheinwerfer einstellen
Nebelscheinwerfer einstellen → Heft39.1.
Einbaulage des Scheinwerfers korrigieren
Benötigte Spezialwerkzeuge, Prüf- und Messgeräte sowie Hilfsmittel

Arbeitsablauf

- Die Schrauben -2-, -3-, -4- und -5- lösen.
- Gleichmäßigen Fugenverlauf des Scheinwerfers -1- zum Kotflügel einstellen.
- Die Schrauben -3- und -4- festziehen.
- Die Frontklappe schließen.
- Für gleichmäßigen Fugenverlauf die Hohlschraube bei Schraube -5- einstellen.
- Die Frontklappe öffnen.
- Die Schraube -5- in der Hohlschraube festziehen.
- Die Schraube -2- festziehen.
- Funktionsprüfung durchführen.
- Scheinwerfereinstellung prüfen und ggf. Scheinwerfer einstellen → Heft39.1.
Anzugsdrehmomente
Lampe für Blinklicht vorn -M5-/-M7- aus- und einbauen
Lampe für Blinklicht vorn -M5-/-M7- aus- und einbauen, Halogendoppelscheinwerfer
Hinweis
Beschrieben ist der Aus- bzw. Einbau auf der linken Seite. Der Aus- bzw. Einbau auf der rechten Seite erfolgt sinngemäß.
Ausbauen
- Gehäusedeckel -3- vom Scheinwerfer abziehen.

- Griffstück mit Lampe für Blinklicht vorn -2- aus dem Reflektor -1- herausziehen -Pfeil-.

- Lampe für Blinklicht vorn links -M5--2- aus der Fassung -1- herausziehen.
Einbauen
Der Einbau erfolgt in umgekehrter Reihenfolge, dabei Folgendes beachten:
Vorsicht!
Gefahr der Beschädigung des Scheinwerfers.
- Funktionsprüfung durchführen.
- Scheinwerfereinstellung prüfen und ggf. Scheinwerfer einstellen → Heft39.1.

Lampe für Blinklicht vorn -M5-/-M7- aus- und einbauen, LED-Scheinwerfer
Hinweis
Die Lampen für Blinklicht vorn sind als LED ausgeführt und im Scheinwerfer integriert. Der Austausch der LEDs ist nicht möglich. Der Scheinwerfer muss komplett ersetzt werden.
- Scheinwerfer aus- und einbauen.
Reparatursatz für Scheinwerfergehäuse einbauen
Benötigte Spezialwerkzeuge, Prüf- und Messgeräte sowie Hilfsmittel

Hinweis
- Scheinwerfer mit der gebrochenen Befestigungslasche ausbauen.
- Reste der abgebrochenen Befestigungslasche am Scheinwerfergehäuse entfernen.

- Befestigungslasche -2- des Reparatursatzes am Scheinwerfer ansetzen und mit den Schrauben -1- befestigen.
- Scheinwerfer einbauen.
- Funktionsprüfung durchführen.
- Scheinwerfereinstellung prüfen und ggf. Scheinwerfer einstellen → Heft39.1.
Anzugsdrehmomente
Scheinwerfer von Rechts- auf Linksverkehr umstellen
Scheinwerfer von Rechts- auf Linksverkehr umstellen, Halogendoppelscheinwerfer
Bei Fahrten in Ländern, in denen auf der anderen Straßenseite als im Heimatland des Wagens gefahren wird, müssen keinerlei Maßnahmen durchgeführt werden.
Scheinwerfer von Rechts- auf Linksverkehr umstellen, LED-Scheinwerfer
Bei Fahrten in Ländern, in denen auf der anderen Straßenseite als im Heimatland des Wagens gefahren wird, müssen beide Scheinwerfer umgestellt werden. So wird verhindert, dass das asymmetrische Abblendlicht blendet.
Hinweis
- Den Taster CAR an der Anzeigeeinheit für Steuergerät der Anzeige- und Bedienungseinheit, Informationen vorn -J685- drücken.
- Die Funktionsflächen Setup und Licht drücken.
- Im Menü "Einstellungen Licht" die Anpassung vornehmen.
Scheinwerfer von Links- auf Rechtsverkehr umstellen
Scheinwerfer von Links- auf Rechtsverkehr umstellen, Halogendoppelscheinwerfer
Bei Fahrten in Ländern, in denen auf der anderen Straßenseite als im Heimatland des Wagens gefahren wird, müssen keinerlei Maßnahmen durchgeführt werden.
Scheinwerfer von Links- auf Rechtsverkehr umstellen, LED-Scheinwerfer
Bei Fahrten in Ländern, in denen auf der anderen Straßenseite als im Heimatland des Wagens gefahren wird, müssen beide Scheinwerfer umgestellt werden. So wird verhindert, dass das asymmetrische Abblendlicht blendet.
Hinweis
- Den Taster CAR an der Anzeigeeinheit für Steuergerät der Anzeige- und Bedienungseinheit, Informationen vorn -J685- drücken.
- Die Funktionsflächen Setup und Licht drücken.
- Im Menü "Einstellungen Licht" die Anpassung vornehmen.
Stellmotor für Leuchtweitenregelung -V48-/-V49- aus- und einbauen
Stellmotor für Leuchtweitenregelung -V48-/-V49- aus- und einbauen, Halogendoppelscheinwerfer
Hinweis
Ausbauen
- Gehäusedeckel -2- vom Scheinwerfer abziehen.

- Einstellschrauben -2- zur Höhenverstellung am Scheinwerfer oben bis zum Anschlag in Pfeilrichtung -B- drehen.
- Stellmotor links für Leuchtweitenregelung -V48--1- entriegeln:
- Stellmotor links für Leuchtweitenregelung -V48--3- nach links schwenken, sodass der Kugelkopf nach rechts aus der Kugelkopfaufnahme im Scheinwerfer geschoben wird.
- Stellmotor links für Leuchtweitenregelung -V48--1- in Pfeilrichtung -C- so weit aus dem Scheinwerfer ziehen, bis die Steckverbindung zugänglich ist.
- Elektrische Steckverbindung entriegeln und trennen.
- Stellmotor links für Leuchtweitenregelung -V48--1- abnehmen.
Einbauen
Der Einbau erfolgt in umgekehrter Reihenfolge, dabei Folgendes beachten:
Vorsicht!
Gefahr der Beschädigung des Scheinwerfers.
Beim Einbau des Gehäusedeckels auf den richtigen Sitz achten. Durch Wassereintritt in den Scheinwerfer wird dieser zerstört.
- Reflektor an der Kugelkopfaufnahme nach hinten ziehen.
- Kugelkopf am Stellmotor links für Leuchtweitenregelung -V48- in die Kugelkopfaufnahme im Scheinwerfer einhängen.
- Funktionsprüfung durchführen.
- Scheinwerfereinstellung prüfen und ggf. Scheinwerfer einstellen → Heft39.1.

Stellmotor für Leuchtweitenregelung -V48-/-V49- aus- und einbauen, LED-Scheinwerfer ohne Kurvenlicht
Benötigte Spezialwerkzeuge, Prüf- und Messgeräte sowie Hilfsmittel
Hinweis
Beschrieben ist der Aus- bzw. Einbau auf der linken Seite. Der Aus- bzw. Einbau auf der rechten Seite erfolgt sinngemäß.
Vorsicht!
Arbeiten am Stellmotor für Leuchtweitenregelung ausschließlich an einem ESD-Arbeitsplatz durchführen.
Ausbauen
- Scheinwerfer ausbauen.
- Einstellschrauben zur Höhenverstellung am Scheinwerfer oben bis zum Anschlag nach rechts (Uhrzeigersinn) drehen.

- Schrauben -4- herausdrehen.
- Gehäusedeckel -3- vom Scheinwerfer abnehmen.

- Schraube -1- herausdrehen.
- Einstellelement zur Höhenverstellung -2- nach oben abnehmen.
- Darunter liegende Stellwelle nach oben aus dem Scheinwerfer herausziehen.
- Elektrische Steckverbindung -4- entriegeln und trennen.
- Stellmotor links für Leuchtweitenregelung -V48--3- entriegeln:
- Stellmotor links für Leuchtweitenregelung -V48--3- nach links schwenken, sodass der Kugelkopf nach rechts aus der Kugelkopfaufnahme im Scheinwerfer geschoben wird.
- Stellmotor links für Leuchtweitenregelung -V48--3- nach hinten aus dem Scheinwerfer herausziehen.
Einbauen
Der Einbau erfolgt in umgekehrter Reihenfolge, dabei Folgendes beachten:
Vorsicht!
Gefahr der Beschädigung des Scheinwerfers.
Beim Einbau des Gehäusedeckels auf den richtigen Sitz achten. Durch Wassereintritt in den Scheinwerfer wird dieser zerstört.
- Reflektor an der Kugelkopfaufnahme nach hinten ziehen.
- Kugelkopf am Stellmotor links für Leuchtweitenregelung -V48- in die Kugelkopfaufnahme im Scheinwerfer einhängen.
- Funktionsprüfung durchführen.
- Scheinwerfereinstellung prüfen und ggf. Scheinwerfer einstellen → Heft39.1.
Anzugsdrehmomente

Stellmotor für Leuchtweitenregelung -V48-/-V49- aus- und einbauen, LED-Scheinwerfer mit Kurvenlicht
Benötigte Spezialwerkzeuge, Prüf- und Messgeräte sowie Hilfsmittel
Hinweis
Beschrieben ist der Aus- bzw. Einbau auf der linken Seite. Der Aus- bzw. Einbau auf der rechten Seite erfolgt sinngemäß.
Vorsicht!
Arbeiten am Stellmotor für Leuchtweitenregelung ausschließlich an einem ESD-Arbeitsplatz durchführen.
Ausbauen
- Scheinwerfer ausbauen.
- Einstellschrauben zur Höhenverstellung am Scheinwerfer oben bis zum Anschlag nach rechts (Uhrzeigersinn) drehen.

- Gehäusedeckel -3- vom Scheinwerfer abziehen.

- Gehäusedeckel -1- entlang der Sollbruchlinie -2- mit einem Hammer vorsichtig lösen.
- Gehäusedeckel -1- vom Scheinwerfer abnehmen.

- Schraube -1- herausdrehen.
- Einstellelement zur Höhenverstellung -2- nach oben abnehmen.
- Darunter liegende Stellwelle nach oben aus dem Scheinwerfer herausziehen.
- Stellmotor links für Leuchtweitenregelung -V48--3- entriegeln:
- Stellmotor links für Leuchtweitenregelung -V48--3- nach unten links schwenken, sodass der Kugelkopf nach oben rechts aus der Kugelkopfaufnahme im Scheinwerfer geschoben wird.
- Stellmotor links für Leuchtweitenregelung -V48--3- nach hinten aus dem Scheinwerfer herausziehen, bis die Steckverbindung zugänglich ist.
- Elektrische Steckverbindung -4- entriegeln und trennen.
- Stellmotor links für Leuchtweitenregelung -V48--3- abnehmen.
Einbauen
Der Einbau erfolgt in umgekehrter Reihenfolge, dabei Folgendes beachten:
Vorsicht!
Gefahr der Beschädigung des Scheinwerfers.
Beim Einbau des Gehäusedeckels auf den richtigen Sitz achten. Durch Wassereintritt in den Scheinwerfer wird dieser zerstört.
- Reflektor an der Kugelkopfaufnahme nach hinten ziehen.
- Kugelkopf am Stellmotor links für Leuchtweitenregelung -V48- in die Kugelkopfaufnahme im Scheinwerfer einhängen.

- Neuen Gehäusedeckel -1- auf den Scheinwerfer aufsetzen.
- Schrauben -2- eindrehen und festschrauben.
- Funktionsprüfung durchführen.
- Scheinwerfereinstellung prüfen und ggf. Scheinwerfer einstellen → Heft39.1.
Anzugsdrehmomente

Lampe für Abblendlichtscheinwerfer aus- und einbauen
Lampe für Abblendlichtscheinwerfer aus- und einbauen, Halogendoppelscheinwerfer
Hinweis
Ausbauen
- Gehäusedeckel -1- vom Scheinwerfer abziehen.

- Stecker -1- fassen und zusammen mit der Lampe für Abblendlichtscheinwerfer -2- nach oben drücken, bis die Lampe für Abblendlichtscheinwerfer -2- entrastet.
- Lampe für Abblendlichtscheinwerfer -2- am Stecker -1- nach hinten aus dem Scheinwerfer herausziehen.

- Lampe für Abblendlichtscheinwerfer -2- gerade aus dem Stecker -1- herausziehen.
Einbauen
Der Einbau erfolgt in umgekehrter Reihenfolge, dabei Folgendes beachten:
Vorsicht!
Gefahr der Beschädigung des Scheinwerfers.
- Funktionsprüfung durchführen.
- Scheinwerfereinstellung prüfen und ggf. Scheinwerfer einstellen → Heft39.1.

Lampe für Abblendlichtscheinwerfer aus- und einbauen, LED-Scheinwerfer ohne Kurvenlicht
Hinweis
Die Lampen für Abblendlichtscheinwerfer sind als LED-Module ausgeführt und im Scheinwerfer integriert. Der Austausch der LED-Module ist nicht möglich. Der Scheinwerfer muss komplett ersetzt werden.
- Scheinwerfer aus- und einbauen.
Lampe für Abblendlichtscheinwerfer aus- und einbauen, LED-Scheinwerfer mit Kurvenlicht
Benötigte Spezialwerkzeuge, Prüf- und Messgeräte sowie Hilfsmittel
Hinweis
Beschrieben ist der Aus- bzw. Einbau auf der linken Seite. Der Aus- bzw. Einbau auf der rechten Seite erfolgt sinngemäß.
Vorsicht!
Arbeiten am LED-Modul ausschließlich an einem ESD-Arbeitsplatz durchführen.
Ausbauen
- Scheinwerfer ausbauen.

- Schrauben -1- herausdrehen.
- Gehäuse für horizontale Scheinwerfereinstellung -2- mit Verlängerung vom Scheinwerfergehäuse abnehmen.
- Gehäusedeckel -3- entlang der Sollbruchlinie -4- mit einem Hammer vorsichtig lösen.
- Gehäusedeckel -3- vom Scheinwerfer abnehmen.
Hinweis

Es ist hilfreich, Skizzen oder Fotos von der Leitungsverlegung -4- für das LED-Modul anzufertigen. Damit wird der ursprüngliche Einbau gewährleistet.
- Schrauben -2- herausdrehen.
- LED-Modul für Abblendlicht/Vorfeldbeleuchtung -1- nach hinten aus dem Scheinwerfer herausfädeln, bis die Steckverbindung -3- zugänglich ist.
- Elektrische Steckverbindung -3- entriegeln und abziehen.
- Elektrische Leitungen -4- zwischen den Kühlrippen herausfädeln und zur Seite schwenken.
- LED-Modul für Abblendlicht/Vorfeldbeleuchtung -1- weiter nach hinten aus dem Scheinwerfer herausfädeln und abnehmen.
Einbauen
Der Einbau erfolgt in umgekehrter Reihenfolge, dabei Folgendes beachten:
- Auf die korrekte Positionierung des LED-Moduls in Einbaulage achten.
- Die ursprüngliche Leitungsverlegung für das LED-Modul wieder herstellen.
Vorsicht!
Gefahr der Beschädigung des Scheinwerfers.
Beim Einbau des Gehäusedeckels auf den richtigen Sitz achten. Durch Wassereintritt in den Scheinwerfer wird dieser zerstört.

- Neuen Gehäusedeckel -4- auf den Scheinwerfer aufsetzen.
- Schrauben -3- eindrehen und festschrauben.
- Gehäuse für horizontale Scheinwerfereinstellung -2- mit Verlängerung an das Scheinwerfergehäuse ansetzen.
- Schrauben -1- eindrehen und festschrauben.
- Funktionsprüfung durchführen.
- Scheinwerfereinstellung prüfen und ggf. Scheinwerfer einstellen → Heft39.1.
Anzugsdrehmomente


Lampe für Fernlichtscheinwerfer -M30-/-M32- aus- und einbauen
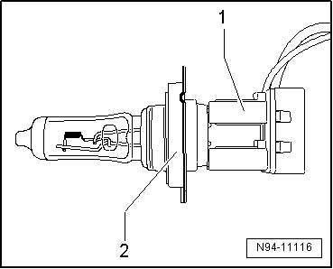
Lampe für Fernlichtscheinwerfer -M30-/-M32- aus- und einbauen, Halogendoppelscheinwerfer
Hinweis
Beschrieben ist der Aus- bzw. Einbau auf der linken Seite. Der Aus- bzw. Einbau auf der rechten Seite erfolgt sinngemäß.
Ausbauen
- Gehäusedeckel -5- vom Scheinwerfer abziehen.

- Lampe für Fernlichtscheinwerfer -1- in -Pfeilrichtung- drehen und aus der Aufnahme -2- am Reflektor herausziehen.
- Steckverbindung an der Lampe für Fernlichtscheinwerfer -1- entriegeln und trennen.
Einbauen
Der Einbau erfolgt in umgekehrter Reihenfolge, dabei Folgendes beachten:
Vorsicht!
Gefahr der Beschädigung des Scheinwerfers.
- Funktionsprüfung durchführen.
- Scheinwerfereinstellung prüfen und ggf. Scheinwerfer einstellen → Heft39.1.

Lampe für Fernlichtscheinwerfer -M30-/-M32- aus- und einbauen, LED-Scheinwerfer ohne Kurvenlicht
Benötigte Spezialwerkzeuge, Prüf- und Messgeräte sowie Hilfsmittel
Hinweis
Beschrieben ist der Aus- bzw. Einbau auf der linken Seite. Der Aus- bzw. Einbau auf der rechten Seite erfolgt sinngemäß.
Vorsicht!
Arbeiten am LED-Modul ausschließlich an einem ESD-Arbeitsplatz durchführen.
Ausbauen
- Scheinwerfer ausbauen.

- Schrauben -2- herausdrehen.
- Abdeckung -1- vom Scheinwerfer abnehmen.
- Gehäusedeckel -3- entlang der Sollbruchlinie -4- mit einem Hammer vorsichtig lösen.
- Gehäusedeckel -3- vom Scheinwerfer abnehmen.

- Elektrische Steckverbindung -3- entriegeln und abziehen.
- Schrauben -2- herausdrehen.
- LED-Modul für Fernlicht -1- nach oben aus dem Scheinwerfer herausfädeln und abnehmen.

Einbauen
ACHTUNG!
Hautkontakt mit der Wärmeleitpaste vermeiden!
Wenn ein Hautkontakt mit der Wärmeleitpaste satt gefunden hat, dann betroffene Hautstelle gründlich reinigen, z. B. mit Seifenlauge.
- Eine dünne Schicht Wärmeleitpaste -2- ( → Elektronischer Ersatzteilkatalog "ETKA") vorsichtig mit einem Schraubendreher an den Anlageflächen des LED-Moduls -1- aufbringen.

- LED-Modul für Fernlicht -1- in den Scheinwerfer einsetzen und in Einbaulage positionieren.
- Schrauben -2- eindrehen und festziehen.
- Elektrische Steckverbindung -3- verbinden.
Vorsicht!
Gefahr der Beschädigung des Scheinwerfers.
Beim Einbau des Gehäusedeckels auf den richtigen Sitz achten. Durch Wassereintritt in den Scheinwerfer wird dieser zerstört.

- Neuen Gehäusedeckel -4- auf den Scheinwerfer aufsetzen.
- Schrauben -3- eindrehen und festschrauben.
- Abdeckung -1- an den Scheinwerfer ansetzen.
- Schrauben -2- eindrehen und festschrauben.
- Funktionsprüfung durchführen.
- Scheinwerfereinstellung prüfen und ggf. Scheinwerfer einstellen → Heft39.1.
Anzugsdrehmomente

Lampe für Fernlichtscheinwerfer -M30-/-M32- aus- und einbauen, LED-Scheinwerfer mit Kurvenlicht
Benötigte Spezialwerkzeuge, Prüf- und Messgeräte sowie Hilfsmittel
Hinweis
Beschrieben ist der Aus- bzw. Einbau auf der linken Seite. Der Aus- bzw. Einbau auf der rechten Seite erfolgt sinngemäß.
Vorsicht!
Arbeiten an den LED-Modulen ausschließlich an einem ESD-Arbeitsplatz durchführen.

Ausbauen
- Scheinwerfer ausbauen.
- Gehäusedeckel -1- entlang der Sollbruchlinie -2- mit einem Hammer vorsichtig lösen.
- Gehäusedeckel -1- vom Scheinwerfer abnehmen.

- Schraube -1- herausdrehen.
Hinweis
Vorsicht!
Das Flachbandkabel -2- nicht beschädigen.
- Elektrische Steckverbindung -3- am Halter mit Flachbandkabel -2- entriegeln und trennen.

- Halter -1- mit der Nase -2- in die Führung am LED-Modul -3- schieben (Parkposition für Flachbandkabel).
- Schrauben -4- herausdrehen.
- LED-Modul -3- nach hinten aus dem Scheinwerfer herausziehen, dabei auf das Flachbandkabel achten.
- Wenn das LED-Modul ersetzt wird, dann muss der Lüfter für Scheinwerfer umgebaut werden.
Einbauen
Vorsicht!
Das Flachbandkabel nicht beschädigen.

- LED-Modul -3- in den Scheinwerfer einsetzen und in Einbaulage positionieren, dabei auf das Flachbandkabel achten.
- Schrauben -4- eindrehen und festziehen.
- Halter -1- mit Flachbandkabel nach hinten aus der Führung am LED-Modul -3- ziehen.

- Elektrische Steckverbindung -3- am Halter mit Flachbandkabel -2- aufstecken.
- Halter mit Flachbandkabel -2- in Einbaulage positionieren.
- Schraube -1- eindrehen und festziehen.
Vorsicht!
Gefahr der Beschädigung des Scheinwerfers.
Beim Einbau des Gehäusedeckels auf den richtigen Sitz achten. Durch Wassereintritt in den Scheinwerfer wird dieser zerstört.

- Neuen Gehäusedeckel -1- auf den Scheinwerfer aufsetzen.
- Schrauben -2- eindrehen und festschrauben.

- Gehäusedeckel -3- vom Scheinwerfer abziehen.
- Scheinwerfer waagerecht wahlweise mit einem Abstand von 5 m oder 10 m vor einer Wand positionieren.
- Steckverbindung für Scheinwerfer im Fahrzeug und Steckverbindung am ausgebauten Scheinwerfer mit Verlängerungskabel für Scheinwerfer verbinden.
- Licht am Lichtdrehschalter -EX1- einschalten.

- Schraube -1- zur Feinjustage bis zum Anschlag in -Pfeilrichtung- drehen.

- Schraube -1- zur Feinjustage langsam in Pfeilrichtung -A- drehen.
Dadurch bewegt sich der hellere Lichtanteil im unteren Bereich -3- langsam nach oben -Pfeil B-.
- Schraube -1- weiter langsam in Pfeilrichtung -A- drehen, bis das Maß -a- zwischen der Oberkante -3- des helleren Lichtbereichs und der Oberkante -2- des dunkleren Lichtbereichs erreicht ist.


Vorsicht!
Gefahr der Beschädigung des Scheinwerfers.
Beim Einbau des Gehäusedeckels auf den richtigen Sitz achten. Durch Wassereintritt in den Scheinwerfer wird dieser zerstört.
- Gehäusedeckel -3- für den Stellmotor für Leuchtweitenregelung an den Scheinwerfer anbauen.
- Scheinwerfer einbauen.
- Scheinwerfereinstellung prüfen und ggf. Scheinwerfer einstellen → Heft39.1.
Anzugsdrehmomente

Lampe für Standlicht -M1-/-M3- aus- und einbauen
Hinweis
Beschrieben ist der Aus- bzw. Einbau auf der linken Seite. Der Aus- bzw. Einbau auf der rechten Seite erfolgt sinngemäß.
Ausbauen
- Gehäusedeckel -4- vom Scheinwerfer abziehen.

- Griffstück mit Lampe für Standlicht -1- aus dem Reflektor -2- herausziehen.

- Lampe für Standlicht links -M1--2- aus der Fassung -1- herausziehen -Pfeil-.
Einbauen
Der Einbau erfolgt in umgekehrter Reihenfolge, dabei Folgendes beachten:
Vorsicht!
Gefahr der Beschädigung des Scheinwerfers.
- Funktionsprüfung durchführen.
- Scheinwerfereinstellung prüfen und ggf. Scheinwerfer einstellen → Heft39.1.

Lampe für Tagesfahrlicht -L174-/-L175- aus- und einbauen
Hinweis
Beschrieben ist der Aus- bzw. Einbau auf der linken Seite. Der Aus- bzw. Einbau auf der rechten Seite erfolgt sinngemäß.
Ausbauen
- Nebelscheinwerfer ausbauen.
- Fassung mit Lampe für Tagesfahrlicht -1- in Pfeilrichtung -A- drehen und aus dem Nebelscheinwerfergehäuse herausziehen.

- Lampe für Tagesfahrlicht -1- aus der Lampenfassung herausziehen -Pfeil-.
Einbauen
Der Einbau erfolgt in umgekehrter Reihenfolge, dabei Folgendes beachten:
Vorsicht!
Gefahr der Beschädigung des Scheinwerfers.
- Funktionsprüfung durchführen.

LED-Modul für Tagesfahrlicht und Standlicht -L176-/-L177- aus- und einbauen
Hinweis
Die Lampen für Tagesfahrlicht und Standlicht sind als LED ausgeführt und im Scheinwerfer integriert. Der Austausch der LEDs ist nicht möglich. Der Scheinwerfer muss komplett ersetzt werden.
- Scheinwerfer aus- und einbauen.
Lampe für statisches Kurvenlicht -L148-/-L149- aus- und einbauen
Benötigte Spezialwerkzeuge, Prüf- und Messgeräte sowie Hilfsmittel
Hinweis
Beschrieben ist der Aus- bzw. Einbau auf der linken Seite. Der Aus- bzw. Einbau auf der rechten Seite erfolgt sinngemäß.
Vorsicht!
Arbeiten an der Lampe für statisches Kurvenlicht -L148-/-L149- ausschließlich an einem ESD-Arbeitsplatz durchführen.
Ausbauen
- Scheinwerfer ausbauen.

- Schrauben -2- herausdrehen.
- Lampe für Kurvenlicht links -L148--1- aus dem Scheinwerfergehäuse herausfädeln, bis die Steckverbindung zugänglich ist.
- Elektrische Steckverbindung an der Lampe für Kurvenlicht links -L148- entriegeln und trennen.
- Lampe für Kurvenlicht links -L148--1- abnehmen.
Einbauen
Der Einbau erfolgt in umgekehrter Reihenfolge, dabei Folgendes beachten:
- Dichtung zwischen Lampe für Kurvenlicht links -L148- und Scheinwerfergehäuse auf Beschädigung prüfen.
Vorsicht!
Gefahr der Beschädigung des Scheinwerfers.
Beim Einbau der Lampe für Kurvenlicht links -L148- auf den richtigen Sitz achten. Durch Wassereintritt in den Scheinwerfer wird dieser zerstört.
- Funktionsprüfung durchführen.
- Scheinwerfereinstellung prüfen und ggf. Scheinwerfer einstellen → Heft39.1.
Anzugsdrehmomente

Lüfter für Scheinwerfer -V407-/-V408- aus- und einbauen
Benötigte Spezialwerkzeuge, Prüf- und Messgeräte sowie Hilfsmittel
Hinweis
Beschrieben ist der Aus- bzw. Einbau auf der linken Seite. Der Aus- bzw. Einbau auf der rechten Seite erfolgt sinngemäß.
Vorsicht!
Arbeiten am Lüfter für Scheinwerfer -V407-/-V408- ausschließlich an einem ESD-Arbeitsplatz durchführen.

Ausbauen
- Scheinwerfer ausbauen.
- Gehäusedeckel -1- entlang der Sollbruchlinie -2- mit einem Hammer vorsichtig lösen.
- Gehäusedeckel -1- vom Scheinwerfer abnehmen.

- Elektrische Steckverbindung -1- entriegeln und trennen.
- Elektrische Leitungen für Lüfter für Scheinwerfer links -V407--4- freilegen.
- Schrauben -2- herausdrehen.
- Halter -3- mit Lüfter für Scheinwerfer links -V407--4- von der Lampe für Abblendlichtscheinwerfer links -M29- abnehmen.
Hinweis
Der Halter -3- kann nicht vom Lüfter für Scheinwerfer links -V407--4- getrennt werden.
Einbauen
Der Einbau erfolgt in umgekehrter Reihenfolge, dabei Folgendes beachten:
Vorsicht!
Gefahr der Beschädigung des Scheinwerfers.
Beim Einbau des Gehäusedeckels auf den richtigen Sitz achten. Durch Wassereintritt in den Scheinwerfer wird dieser zerstört.

- Neuen Gehäusedeckel -1- auf den Scheinwerfer aufsetzen.
- Schrauben -2- eindrehen und festschrauben.
- Scheinwerfereinstellung prüfen und ggf. Scheinwerfer einstellen → Heft39.1.
Anzugsdrehmomente

Leistungsmodul für Scheinwerfer -J667-/-J668- aus- und einbauen
Benötigte Spezialwerkzeuge, Prüf- und Messgeräte sowie Hilfsmittel
Hinweis
Beschrieben ist der Aus- bzw. Einbau auf der linken Seite. Der Aus- bzw. Einbau auf der rechten Seite erfolgt sinngemäß.
Ausbauen
- Scheinwerfer ausbauen.

- Schrauben -3- herausdrehen.
- Leistungsmodul für Scheinwerfer links -J667--4- so weit vom Scheinwerfergehäuse abziehen, bis die Steckverbindung zugänglich ist.
- Elektrische Steckverbindung am Leistungsmodul für Scheinwerfer links -J667--4- entriegeln und trennen.
- Leistungsmodul für Scheinwerfer links -J667--4- abnehmen.
Einbauen
Der Einbau erfolgt in umgekehrter Reihenfolge, dabei Folgendes beachten:
- Dichtung zwischen Leistungsmodul für Scheinwerfer links -J667- und Scheinwerfergehäuse auf Beschädigung prüfen.
Vorsicht!
Gefahr der Beschädigung des Scheinwerfers.
Beim Einbau vom Leistungsmodul für Scheinwerfer links -J667- auf den richtigen Sitz achten. Durch Wassereintritt in den Scheinwerfer wird dieser zerstört.
- Funktionsprüfung durchführen.
- Scheinwerfereinstellung prüfen und ggf. Scheinwerfer einstellen → Heft39.1.
Anzugsdrehmomente

Steuergerät für Tagesfahrlicht und Standlicht -J860-/-J861- aus- und einbauen
Steuergerät für Tagesfahrlicht und Standlicht -J860-/-J861- aus- und einbauen, LED-Scheinwerfer ohne Kurvenlicht
Benötigte Spezialwerkzeuge, Prüf- und Messgeräte sowie Hilfsmittel
Hinweis
Beschrieben ist der Aus- bzw. Einbau auf der linken Seite. Der Aus- bzw. Einbau auf der rechten Seite erfolgt sinngemäß.
Ausbauen
- Scheinwerfer ausbauen.

- Schrauben -1- herausdrehen.
- Steuergerät für Tagesfahrlicht und Standlicht links -J860--2- so weit vom Scheinwerfergehäuse abziehen, bis die Steckverbindung zugänglich ist.
- Elektrische Steckverbindung am Steuergerät für Tagesfahrlicht und Standlicht links -J860--2- entriegeln und trennen.
- Steuergerät für Tagesfahrlicht und Standlicht links -J860--2- abnehmen.
Einbauen
Der Einbau erfolgt in umgekehrter Reihenfolge, dabei Folgendes beachten:
- Dichtung zwischen Steuergerät für Tagesfahrlicht und Standlicht links -J860- und Scheinwerfergehäuse auf Beschädigung prüfen.
Vorsicht!
Gefahr der Beschädigung des Scheinwerfers.
Beim Einbau vom Steuergerät für Tagesfahrlicht und Standlicht links -J860- auf den richtigen Sitz achten. Durch Wassereintritt in den Scheinwerfer wird dieser zerstört.
- Funktionsprüfung durchführen.
- Scheinwerfereinstellung prüfen und ggf. Scheinwerfer einstellen → Heft39.1.
Anzugsdrehmomente

Steuergerät für Tagesfahrlicht und Standlicht -J860-/-J861- aus- und einbauen, LED-Scheinwerfer mit Kurvenlicht
Benötigte Spezialwerkzeuge, Prüf- und Messgeräte sowie Hilfsmittel
Hinweis
Beschrieben ist der Aus- bzw. Einbau auf der linken Seite. Der Aus- bzw. Einbau auf der rechten Seite erfolgt sinngemäß.
Ausbauen
- Scheinwerfer ausbauen.

- Schrauben -2- herausdrehen.
- Steuergerät für Tagesfahrlicht und Standlicht links -J860--1- so weit vom Scheinwerfergehäuse abziehen, bis die Steckverbindung zugänglich ist.
- Elektrische Steckverbindung am Steuergerät für Tagesfahrlicht und Standlicht links -J860--1- entriegeln und trennen.
- Steuergerät für Tagesfahrlicht und Standlicht links -J860--1- abnehmen.
Einbauen
Der Einbau erfolgt in umgekehrter Reihenfolge, dabei Folgendes beachten:
- Dichtung zwischen Steuergerät für Tagesfahrlicht und Standlicht links -J860- und Scheinwerfergehäuse auf Beschädigung prüfen.
Vorsicht!
Gefahr der Beschädigung des Scheinwerfers.
Beim Einbau vom Steuergerät für Tagesfahrlicht und Standlicht links -J860- auf den richtigen Sitz achten. Durch Wassereintritt in den Scheinwerfer wird dieser zerstört.
- Funktionsprüfung durchführen.
- Scheinwerfereinstellung prüfen und ggf. Scheinwerfer einstellen → Heft39.1.
Anzugsdrehmomente

Leistungsmodul 1 für LED-Scheinwerfer -A27-/-A31- aus- und einbauen
Leistungsmodul 1 für LED-Scheinwerfer -A27-/-A31- aus- und einbauen, LED-Scheinwerfer ohne Kurvenlicht
Benötigte Spezialwerkzeuge, Prüf- und Messgeräte sowie Hilfsmittel
Hinweis
Beschrieben ist der Aus- bzw. Einbau auf der linken Seite. Der Aus- bzw. Einbau auf der rechten Seite erfolgt sinngemäß.
Ausbauen
- Scheinwerfer ausbauen.

- Schrauben -1- herausdrehen.
- Leistungsmodul 1 für LED-Scheinwerfer links -A31--2- so weit vom Scheinwerfergehäuse abziehen, bis die Steckverbindung zugänglich ist.
- Elektrische Steckverbindung am Leistungsmodul 1 für LED-Scheinwerfer links -A31--2- entriegeln und trennen.
- Leistungsmodul 1 für LED-Scheinwerfer links -A31--2- abnehmen.
Einbauen
Der Einbau erfolgt in umgekehrter Reihenfolge, dabei Folgendes beachten:
Vorsicht!
Beim Einbau des Leistungsmoduls 1 für LED-Scheinwerfer links -A31- auf den richtigen Sitz der Dichtung achten. Durch Wassereintritt in den Scheinwerfer wird dieser zerstört.
- Dichtung zwischen Leistungsmodul 1 für LED-Scheinwerfer links -A31- und Scheinwerfer auf Beschädigung prüfen.
Anzugsdrehmomente

Leistungsmodul 1 für LED-Scheinwerfer -A27-/-A31- aus- und einbauen, LED-Scheinwerfer mit Kurvenlicht
Benötigte Spezialwerkzeuge, Prüf- und Messgeräte sowie Hilfsmittel
Hinweis
Beschrieben ist der Aus- bzw. Einbau auf der linken Seite. Der Aus- bzw. Einbau auf der rechten Seite erfolgt sinngemäß.
Ausbauen
- Scheinwerfer ausbauen.

- Schrauben -2- herausdrehen.
- Leistungsmodul 1 für LED-Scheinwerfer links -A31--1- so weit vom Scheinwerfergehäuse abziehen, bis die Steckverbindung zugänglich ist.
- Elektrische Steckverbindung am Leistungsmodul 1 für LED-Scheinwerfer links -A31--1- entriegeln und trennen.
- Leistungsmodul 1 für LED-Scheinwerfer links -A31--1- abnehmen.
Einbauen
Der Einbau erfolgt in umgekehrter Reihenfolge, dabei Folgendes beachten:
- Dichtung zwischen Leistungsmodul 1 für LED-Scheinwerfer links -A31- und Scheinwerfergehäuse auf Beschädigung prüfen.
Vorsicht!
Gefahr der Beschädigung des Scheinwerfers.
Beim Einbau vom Leistungsmodul 1 für LED-Scheinwerfer links -A31- auf den richtigen Sitz achten. Durch Wassereintritt in den Scheinwerfer wird dieser zerstört.
- Funktionsprüfung durchführen.
- Scheinwerfereinstellung prüfen und ggf. Scheinwerfer einstellen → Heft39.1.
Anzugsdrehmomente

Geber für Stellmotor der variablen Frontbeleuchtung -G695-/-G696- aus- und einbauen
Hinweis
- Scheinwerfer aus- und einbauen.
Stellmotor für variable Frontbeleuchtung -V446-/-V447- aus- und einbauen
Hinweis
- Scheinwerfer aus- und einbauen.
Sensor für Schwenkmodulposition -G474-/-G475- aus- und einbauen
Hinweis
- Scheinwerfer aus- und einbauen.
Stellmotor des dynamischen Kurvenlichts -V318-/-V319- aus- und einbauen
Hinweis
- Scheinwerfer aus- und einbauen.
NebelscheinwerferVolkswagen Passat Variant Betriebsanleitung > Radwechsel: Radschrauben
Abb. 280 Radwechsel: Radschrauben lockern.
Abb. 281 Radwechsel: Reifenventil ① und
Einbauorte der Anti-Diebstahl-Radschraube ② oder ③.
Lesen und beachten Sie zuerst die einleitenden Informationen
und Sicherheitshinweise →Einleitung
zum Thema Zum Lockern der Radschrauben nur den ...