Einbauorteübersicht - Leuchten in der Schalttafel
Hinweis
Dargestellt sind die Einbauorte für den Linkslenker. Die Einbauorte für den Rechtslenker sind sinngemäß angeordnet.

Einbauorteübersicht - Leuchten in den vorderen Türen
Hinweis
Dargestellt sind die Einbauorte für den Linkslenker. Die Einbauorte für den Rechtslenker sind sinngemäß angeordnet.

Einbauorteübersicht - Leuchten in den hinteren Türen

Einbauorteübersicht - Leuchten in der Mittelkonsole
Hinweis
Dargestellt sind die Einbauorte für den Linkslenker. Die Einbauorte für den Rechtslenker sind sinngemäß angeordnet.

Einbauorteübersicht - Leuchten im Kofferraum
Einbauorteübersicht - Leuchten im Kofferraum, Limousine

Einbauorteübersicht - Leuchten im Kofferraum, Variant

Einbauorteübersicht - Leuchten in der Dachverkleidung
Hinweis
Dargestellt sind die Einbauorte für den Variant. Die Einbauorte für die Limousine sind sinngemäß angeordnet.

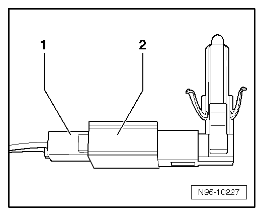
Handschuhfachleuchte -W6- aus- und einbauen
Ausbauen
- Lichtschalter in Stellung "0" drehen.
- Rastnase -1- mit einem flachen Schraubendreher eindrücken und Handschuhfachleuchte -2- abhebeln.
- Elektrische Steckverbindung -3- trennen.
Einbauen
Der Einbau erfolgt in umgekehrter Reihenfolge, dabei Folgendes beachten:
Hinweis
Da die Handschuhfachleuchte -W6- mit LED bestückt ist, muss bei einem Defekt die Leuchte ersetzt werden.
- Handschuhfachleuchte in die Öffnung einsetzen und auf der Gegenseite verrasten.

Lampe für Handschuhfachleuchte -W6- ersetzen
Da die Handschuhfachleuchte -W6- mit LED bestückt ist, muss die komplette Leuchte ersetzt werden.
Handschuhfachleuchte -W6- aus- und einbauen.
Fußraumleuchte vorn -K268-/-K269- aus- und einbauen
Fußraumleuchte vorn -K268- aus- und einbauen, Fahrerseite
Ausbauen
- Rastnase -1- im Bereich Pfeil -A- mit einem flachen Schraubendreher eindrücken.
- Fußraumleuchte -2- abhebeln.
- Elektrische Steckverbindung trennen.
Einbauen
Der Einbau erfolgt in umgekehrter Reihenfolge.
Hinweis
Da die Fußraumleuchte mit LED bestückt ist, muss bei einem Defekt die Leuchte ersetzt werden.

Fußraumleuchte vorn -K269- aus- und einbauen, Beifahrerseite
Ausbauen
- Rastnase -1- im Bereich Pfeil -A- mit einem flachen Schraubendreher eindrücken.
- Fußraumleuchte -2- abhebeln.
- Elektrische Steckverbindung trennen.
Einbauen
Der Einbau erfolgt in umgekehrter Reihenfolge.
Hinweis
Da die Fußraumleuchte mit LED bestückt ist, muss bei einem Defekt die Leuchte ersetzt werden.

Lampe für Fußraumbeleuchtung vorn -L151-/-L152- aus- und einbauen
Da die Fußraumleuchte vorn mit LED bestückt ist, muss die komplette Leuchte ersetzt werden.
- Fußraumleuchte vorn -K268-/-K269- aus- und einbauen.
Kontrollleuchte für SAFE-Funktion der Zentralverriegelung -K133- aus- und einbauen
Ausbauen
- Türverkleidung vorn ausbauen → Karosserie-Montagearbeiten Innen.
- Kontrollleuchte für SAFE-Funktion der Zentralverriegelung -K133--1- durch Zusammendrücken der Rastnasen -Pfeile- aus der Türverkleidung ausclipsen.

- Elektrische Steckverbindung -1-Kontrollleuchte für SAFE-Funktion der Zentralverriegelung -K133--2- abziehen.
Einbauen
Der Einbau erfolgt sinngemäß in umgekehrter Reihenfolge.

Leuchte 2 für Ambientebeleuchtung der Tür vorn -L203-/-L204- aus- und einbauen
Hinweis
Beschrieben ist der Aus- bzw. Einbau auf der linken Seite. Der Aus- bzw. Einbau auf der rechten Seite erfolgt sinngemäß spiegelbildlich.
Ausbauen
- Türverkleidung vorn ausbauen → Karosserie-Montagearbeiten Innen.
Vorsicht!
Es besteht die Gefahr der Beschädigung des Lichtleiters.
Der Lichtleiter darf nur am Lichtaustrittselement im Bereich der Türinnenbetätigung angefasst werden.
Fingerpositionen am Lichtleiter
- Elektrische Steckverbindung trennen.

- Lichtleiter am vorderen Halter -1- in Pfeilrichtung -A- aushängen.
- Lichtleiter -3- vorsichtig etwas anheben und in Pfeilrichtung -B- aus der Türinnenbetätigung -4- herausschwenken.
- Lichtleiter aus der Aufnahme -2- herausziehen.
Einbauen
Der Einbau erfolgt in umgekehrter Reihenfolge.

Einstiegsleuchte vorn -W31-/-W32- aus- und einbauen
Vorsicht!
Gefahr der Beschädigung von Bauteiloberflächen.
Wenn ein Hebelwerkzeug angesetzt wird, muss das Bauteil im Sichtbereich mit handelsüblichem Klebeband abgeklebt werden.
Hinweis
Benötigte Spezialwerkzeuge, Prüf- und Messgeräte sowie Hilfsmittel
Ausbauen
- Zündung und alle elektrischen Verbraucher ausschalten.

- Die Leuchte vorsichtig mit dem Demontagekeil -3409- oder einem Schraubendreher abhebeln.
- Steckverbindung entriegeln und trennen und Leuchte abnehmen.
Einbauen
Der Einbau erfolgt sinngemäß in umgekehrter Reihenfolge.
Lampe der Einstiegsleuchte ersetzen
- Einstiegsleuchte vorn ausbauen.

- Streuscheibe vorsichtig vom Gehäuse abhebeln.

- Glühlampe -1- gerade nach oben aus der Fassung ziehen.
Der Einbau erfolgt sinngemäß in umgekehrter Reihenfolge.

Türwarnleuchte -W30-/-W36- aus- und einbauen
Hinweis
Die Türwarnleuchte und die Einstiegsleuchte bilden ein Bauteil. Sie können nur zusammen aus- und eingebaut werden.
- Türwarnleuchte aus- und einbauen.
Leuchte 1 für Ambientebeleuchtung der Tür hinten -L201-/-L202- aus- und einbauen
Hinweis
Beschrieben ist der Aus- bzw. Einbau auf der linken Seite. Der Aus- bzw. Einbau auf der rechten Seite erfolgt sinngemäß spiegelbildlich.
Ausbauen
- Türverkleidung hinten ausbauen → Karosserie-Montagearbeiten Innen.
Vorsicht!
Es besteht die Gefahr der Beschädigung des Lichtleiters.
Der Lichtleiter darf nur am Lichtaustrittselement im Bereich der Türinnenbetätigung angefasst werden.
Fingerpositionen am Lichtleiter
- Elektrische Steckverbindung trennen.

- Lichtleiter -2- am hinteren Halter -3- in Pfeilrichtung -A- aushängen.
- Lichtleiter -2- vorsichtig in Pfeilrichtung -B- aus der Aufnahme -1- in der Türverkleidung herausziehen.
Einbauen
Der Einbau erfolgt in umgekehrter Reihenfolge.

Einstiegsleuchte hinten -W33-/-W34- aus- und einbauen
Hinweis
Die Türwarnleuchte und die Einstiegsleuchte bilden ein Bauteil. Sie können nur zusammen aus- und eingebaut werden.
- Einstiegsleuchte aus- und einbauen.
Türwarnleuchte hinten -W37-/-W38- aus- und einbauen
Hinweis
Die Türwarnleuchte und die Einstiegsleuchte bilden ein Bauteil. Sie können nur zusammen aus- und eingebaut werden.
- Türwarnleuchte aus- und einbauen.
Leuchte 1 für Ambientebeleuchtung der Tür vorn -L199-/-L200- aus- und einbauen
Hinweis
Die Leuchte 1 für Ambientebeleuchtung der Tür vorn links -L199- und die Leuchte 1 für Ambientebeleuchtung der Tür vorn rechts -L200- sind in die Zierblende der Türverkleidungen vorn integriert und können nicht einzeln ersetzt werden.
- Zierblende der Türverkleidung vorn ausbauen → Karosserie-Montagearbeiten Innen.
Lampe für Ambientebeleuchtung in Tür hinten -L166-/-L167- aus- und einbauen
Hinweis
Die Lampe für Ambientebeleuchtung in Tür hinten links -L166- und die Lampe für Ambientebeleuchtung in Tür hinten rechts -L167- sind in die Zierblende der Türverkleidungen hinten integriert und können nicht einzeln ersetzt werden.
- Zierblende der Türverkleidung hinten ausbauen → Karosserie-Montagearbeiten Innen.
Lampe für Türinnengriffbeleuchtung -L146-/-L147- aus- und einbauen
Hinweis
Der Aus- und Einbau erfolgt bei allen Leuchten für Türinnengriffbeleuchtung in gleicher Weise und wird nur für eine Leuchte für Türinnengriffbeleuchtung beschrieben.
Ausbauen
- Zuziehgriff ausbauen → Karosserie-Montagearbeiten Innen.
- Verrastung -2- entriegeln.
- Leuchte für Türinnengriffbeleuchtung -1- vorsichtig aus dem Zuziehgriff herausziehen -Pfeil-.
- Elektrische Leitung an der Leuchte für Türinnengriffbeleuchtung herausfädeln und Leuchte abnehmen.
Einbauen
Der Einbau erfolgt in umgekehrter Reihenfolge.

Leuchte für Türinnengriffbeleuchtung hinten -L221-/-L222- aus- und einbauen
Der Aus- und Einbau der Leuchte für Türinnengriffbeleuchtung hinten -L221-/-L222- ist identisch mit dem Aus- und Einbau der Leuchte für Türinnengriffbeleuchtung vorn -L219-/-L220-.
Leuchte für Türinnengriffbeleuchtung vorn -L219-/-L220- aus- und einbauen.
Leuchten für Ambientebeleuchtung der Schalttafel -L229-/-L230- aus- und einbauen
Hinweis
Die Leuchte für Ambientebeleuchtung der Schalttafel links -L229-/Leuchte für Ambientebeleuchtung der Schalttafel rechts -L230- ist in die jeweilige Zierblende der Schalttafel integriert und kann nicht einzeln ersetzt werden.
- Entsprechende Zierblende der Schalttafel aus- und einbauen → Karosserie-Montagearbeiten Innen.
Anzeigeeinheit für Wählhebelstellung -Y26- aus- und einbauen
Ausbauen
Hinweis
- Wählhebelmanschette ausbauen.
Einbauen
Der Einbau erfolgt in umgekehrter Reihenfolge.

Kofferraumleuchte -W3- aus- und einbauen
Kofferraumleuchte -W3- aus- und einbauen, Limousine
Ausbauen
Vorsicht!
Gefahr der Beschädigung von Bauteiloberflächen.
Wenn ein Hebelwerkzeug angesetzt wird, muss das Bauteil im Sichtbereich mit handelsüblichem Klebeband abgeklebt werden.
- Kofferraumleuchte -W3--1- mit einem flachen Schraubendreher in Pfeilrichtung -A- drücken.
- Kofferraumleuchte -W3- in Pfeilrichtung -B- aus dem Karosserieblech herausklappen.
- Elektrische Steckverbindung trennen und Kofferraumleuchte -W3- entnehmen.

- Das Kontaktblech -1- der Leuchte in Pfeilrichtung drücken.
- Die Soffitte -2- aus der Fassung herausnehmen.
Einbauen
Der Einbau erfolgt in umgekehrter Reihenfolge, dabei Folgendes beachten:
- Kofferraumleuchte in die Öffnung einsetzen und auf der Gegenseite verrasten.

Kofferraumleuchte -W3- aus- und einbauen, Variant
Ausbauen
Vorsicht!
Gefahr der Beschädigung von Bauteiloberflächen.
Wenn ein Hebelwerkzeug angesetzt wird, muss das Bauteil im Sichtbereich mit handelsüblichem Klebeband abgeklebt werden.
- Kofferraumleuchte -W3--1- mit einem flachen Schraubendreher in Pfeilrichtung -A- drücken.
- Kofferraumleuchte -W3- in Pfeilrichtung -B- aus der Dachverkleidung herausklappen.
- Elektrische Steckverbindung trennen und Kofferraumleuchte -W3- entnehmen.

- Das Kontaktblech -1- der Leuchte in Pfeilrichtung drücken.
- Die Soffitte -2- aus der Fassung herausnehmen.
Einbauen
Der Einbau erfolgt in umgekehrter Reihenfolge, dabei Folgendes beachten:
- Kofferraumleuchte in die Öffnung einsetzen und auf der Gegenseite verrasten.

Beleuchteter Make-up-Spiegel -W20-/-W14- aus- und einbauen
Hinweis
Ausbauen
- Sonnenblende nach vorn schwenken.
Vorsicht!
Gefahr der Beschädigung von Bauteiloberflächen.
Wenn ein Hebelwerkzeug angesetzt wird, muss das Bauteil im Sichtbereich mit handelsüblichem Klebeband abgeklebt werden.
- Mit einem flachen Schraubendreher die Beleuchtung -1- für Make-up-Spiegel an der Aussparung -Pfeil- vorsichtig abhebeln.
- Elektrische Steckverbindung trennen und die Make-up-Spiegel-Beleuchtung entnehmen.
Einbauen
Der Einbau erfolgt in umgekehrter Reihenfolge, dabei Folgendes beachten:
- Beleuchtung für Make-up-Spiegel in die Öffnung einsetzen und auf der Gegenseite verrasten.

Lampe für Innenleuchte vorn -W1- aus- und einbauen
Benötigte Spezialwerkzeuge, Prüf- und Messgeräte sowie Hilfsmittel
Hinweis
Ausbauen
Vorsicht!
Gefahr der Beschädigung von Bauteiloberflächen.
Wenn ein Hebelwerkzeug angesetzt wird, muss das Bauteil im Sichtbereich mit handelsüblichem Klebeband abgeklebt werden.

- Streuscheibe in den mit -Pfeilen- markierten Bereichen mit dem Demontagekeil -3409- von der Innenleuchte vorn -W1- abhebeln.
- Elektrische Steckverbindungen trennen.
Einbauen
Der Einbau erfolgt in umgekehrter Reihenfolge.

Lampe für Innenleuchte hinten -W43- aus- und einbauen
Lampe für Innenleuchte hinten -W43- aus- und einbauen, mit Glühlampen
Benötigte Spezialwerkzeuge, Prüf- und Messgeräte sowie Hilfsmittel
Hinweis
Die Lampen für Innenleuchte hinten -W43- und die Lampen für Leseleuchte hinten links -W11- und Leseleuchte hinten rechts -W12- sind jeweils dasselbe Bauteil.
Ausbauen

- Streuscheibe -3- für Innenleuchte hinten -W43- mit dem Demontagekeil -3409- abhebeln.
- Lampe -1- in Pfeilrichtung -A- aus der Fassung -2- herausziehen.
Einbauen
Der Einbau erfolgt in umgekehrter Reihenfolge, dabei Folgendes beachten:
Vorsicht!
Gefahr der Beschädigung der Leuchte.

Lampe für Innenleuchte hinten -W43- aus- und einbauen, in LED-Technik
Hinweis
- Innenleuchte hinten -W43- aus- und einbauen "Innenleuchte hinten -WX2- aus- und einbauen".
Lampe für Leseleuchte hinten -W11-/-W12- aus- und einbauen
Hinweis
Die Lampe für Leseleuchte hinten -W11- und die Lampe für Innenleuchte hinten -W43- sind dasselbe Bauteil.
- Lampe für Leseleuchte hinten -W11-/-W12- aus- und einbauen.
BedienelementeVolkswagen Passat Variant Betriebsanleitung > Richtig und sicher sitzen. Sitzposition einstellen: Kopfstütze hinten aus- und einbauen
Abb. 63 Kopfstütze hinten ausbauen (Variante
1).
Abb. 64 Kopfstütze hinten ausbauen (Variante
2).
Lesen und beachten Sie zuerst die einleitenden Informationen
und Sicherheitshinweise →Einleitung
zum Thema Alle Sitzplätze sind mit Kopfstützen ausgestattet. Die vorderen Kopfstütze ...