Montageübersicht - Stoßfängerabdeckung
Mehrausstattung Volkswagen R GmbH
Hinweis
Je nach Modellvariante müssen bei der Stoßfängerabdeckung geringfügige Abweichungen berücksichtigt werden.

Montageübersicht - Führungen für Stoßfängerabdeckung
Mehrausstattung Volkswagen R GmbH
Hinweis
Verschiedene Ausführungen, Zuordnung → Elektronischer Ersatzteilkatalog "ETKA"

Montageübersicht - Anbauteile

Montageübersicht - Anbauteile, "R-Line"

Montageübersicht - Aufprallträger
Mehrausstattung Volkswagen R GmbH

Stoßfängerabdeckung aus- und einbauen
Mehrausstattung Volkswagen R GmbH
Hinweis
Je nach Modellvariante müssen beim Aus- und Einbau der Stoßfängerabdeckung geringfügige Abweichungen berücksichtigt werden.
Benötigte Spezialwerkzeuge, Prüf- und Messgeräte sowie Hilfsmittel


Ausbauen
- Schrauben -3- im Radhaus (nach oben gerichtet) links und rechts herausdrehen.
- Schrauben -4- im Bereich der Radhausschale links und rechts herausdrehen.
- Schrauben -5- von unten herausdrehen.
- Schrauben -6- von unten herausdrehen.
- Spreiznieten -7- von unten entfernen.
Der weitere Ausbau ist nur mit einem zweiten Mechaniker möglich.
- Stoßfängerabdeckung -1- aus den Verrastungen der Führungsprofile links und rechts -2- am Seitenteil ziehen -Pfeile a-.
- Stoßfängerabdeckung -1- aus den Verrastungen unter den Schlussleuchten und in der Mitte lösen -Pfeile b-.
- Stoßfängerabdeckung -1- parallel vom Fahrzeug abziehen -Pfeile c-.
- Elektrische Steckverbindungen der elektrischen (so weit vorhandenen) Bauteile trennen.
Hinweise und Arbeitsvorgaben für die Einparkhilfe ist zu finden unter → Elektrische Anlage.
Hinweise und Arbeitsvorgaben für den Parklenkassistenten ist zu finden unter → Elektrische Anlage.

Einbauen
Der Einbau erfolgt in umgekehrter Reihenfolge, dabei Folgendes beachten:
Der Einbau ist nur mit einem zweiten Mechaniker möglich.
- Falls vorhanden, elektrische Steckverbindung der elektrischen Bauteile verbinden.
- Stoßfängerabdeckung -1- parallel ans Fahrzeug führen -Pfeile a-.
- Stoßfängerabdeckung -1- auf die Führungsprofile Mitte, links und rechts unter den Schlussleuchten -2- drücken, bis diese miteinander verrasten -Pfeil b-.
- Stoßfängerabdeckung -1- auf die Führungsprofile links und rechts -5- am Seitenteil drücken, bis diese miteinander verrasten -Pfeil b-.
- Auf Spaltmaße achten.
- Spreiznieten -8- von unten einclipsen.
- Bei Fahrzeugen mit Spurwechselassistenten ist das Heckradar nach jedem Aus- und Einbau zu kalibrieren.
Anzugsdrehmomente
Aufprallträger aus- und einbauen
Mehrausstattung Volkswagen R GmbH
Benötigte Spezialwerkzeuge, Prüf- und Messgeräte sowie Hilfsmittel
Ausbauen


- Schrauben -3- herausdrehen.
- Aufprallträger -1- nach oben -Pfeil- aus den Laschen im Abschlussblech -2- heben.
Einbauen

- Aufprallträger -1- mit den Führungen -4- von oben nach unten -Pfeil- in die Laschen im Abschlussblech -2- führen.
- Schrauben -2- festdrehen.
Anzugsdrehmomente
Stoßfängerabdeckung in Stand setzen
Hinweis
Bei Beschädigungen an der Stoßfängerabdeckung, vor dem Auswechseln Klären, ob eine Kunststoffreparatur möglich ist.
Beschreibung unter → Allgemeine Hinweise; Karosserie-Instandsetzung, Karosserie-Montagearbeiten
Halter für Einparkhilfe einbauen
Benötigte Spezialwerkzeuge, Prüf- und Messgeräte sowie Hilfsmittel

Materialien

→ Elektronischer Ersatzteilkatalog "ETKA"
Hinweis
Die Verarbeitungshinweise nach Vorschrift des Herstellers in der Verpackungsbeilage sind zu beachten.
Halter einbauen
Hinweis
Die Halter werden eingebaut, nachdem die Stoßfängerabdeckung lackiert ist.

Die 4 Markierungen für den Halter -1- sind auf der Innenseite der Stoßfängerabdeckung zu finden.
- Falls nicht vorhanden, ist der Mittelpunkt -2- zu ermitteln.
- Mit dem im Werkzeugsatz beiliegenden Bohrer -3- werden die Löcher von innen nach außen vorgebohrt.

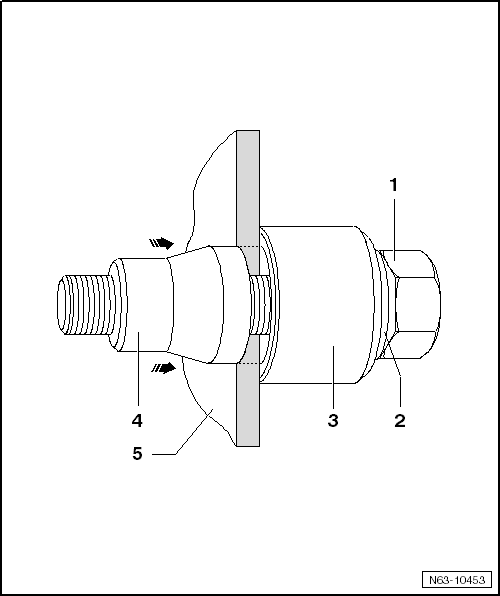
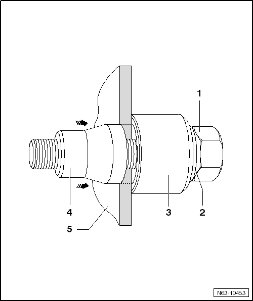
- Den Stanzlocher mit Schraubkopf -1-, Unterlegscheibe -2- und Gegenlager -3- von der Innenseite der Stoßfängerabdeckung -5- ansetzen.
- Das Stanzeisen -4- aufschrauben, nicht ganz bis auf die Stoßfängerabdeckung.
- Das Stanzeisen -4- an die Stoßfängerabdeckung drücken.
- Den Stanzlocher -1- festziehen.
Hinweis
Das Stanzeisen -4- darf sich nicht auf dem Lack der Stoßfängerabdeckung drehen.
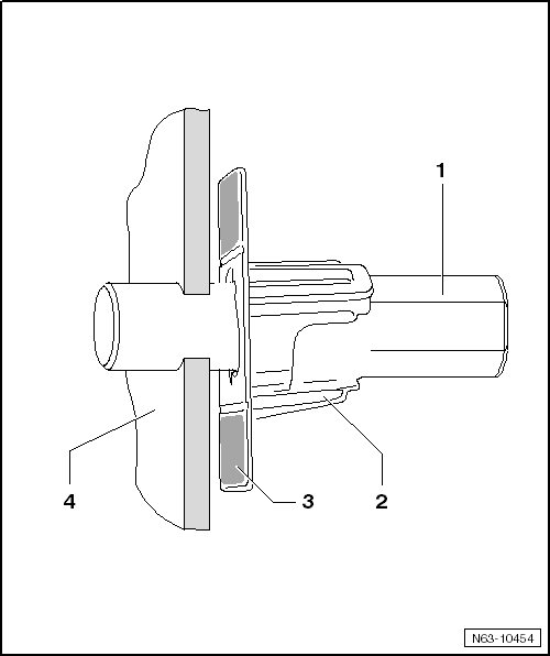
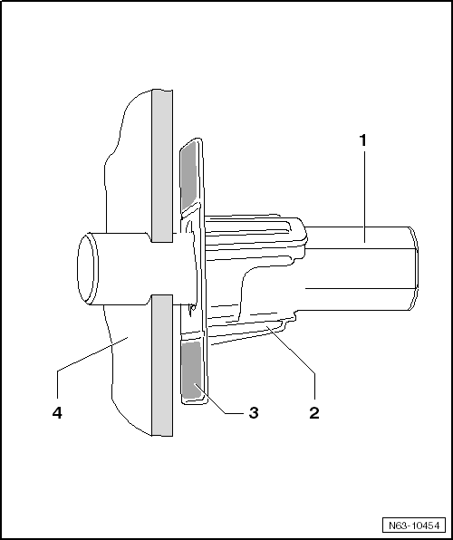
- Das Stanzeisen -4- wird durch Drehen am Schraubkopf -1- durch das Material der Stoßfängerabdeckung -5- durchgezogen -Pfeile-.
- Stanzlocher entfernen und die nächsten Löcher einbringen.
- Stoßfängerabdeckung und Halter gründlich mit der Reinigungslösung reinigen.

- Klebeflächen an der Stoßfängerabdeckung -4- gründlich reinigen.
- Halter -2- auf den Zentrierdorn -1- aufschieben.
- Schutzfolie des doppelseitigen Klebebands -3- am Halter abziehen.
- Zentrierdorn -1- durch das Loch führen, bis der Halter an der Stoßfängerabdeckung -4- anliegt.
- Halter im Bereich der Klebefläche -3- kräftig andrücken.
- Zentrierdorn entnehmen und diese Arbeitsschritte bei allen Haltern wiederholen.
- Eine weitere Bearbeitung der Stoßfängerabdeckung erfolgt erst nach einer Mindestaushärtezeit.
1) -Mindestaushärtezeit
Weitere Arbeiten an der Stoßfängerabdeckung und den Haltern dürfen erst nach Ablauf der Mindestaushärtezeit von 2 Stunden erfolgen.
Die Mindestaushärtezeit ist einzuhalten, damit das Klebeband seine volle Klebekraft entfalten kann.
Die Stoßfängerabdeckung muss in dieser Zeit am Arbeitsplatz liegen bleiben und darf nicht bewegt werden.
Halter für Parklenkassistenten einbauen
Benötigte Spezialwerkzeuge, Prüf- und Messgeräte sowie Hilfsmittel
Materialien
1) -Die Verarbeitungshinweise nach Vorschrift des Herstellers in der Verpackungsbeilage sind zu beachten.
Halter einbauen
Hinweis
Die Halter werden eingebaut, nachdem die Stoßfängerabdeckung lackiert ist.

Die 4 Markierungen für den Halter -1- sind auf der Innenseite der Stoßfängerabdeckung zu finden.
- Falls nicht vorhanden, ist der Mittelpunkt -2- zu ermitteln.
- Mit dem im Werkzeugsatz beiliegenden Bohrer -3- werden die Löcher von innen nach außen vorgebohrt.

- Den Stanzlocher mit Schraubkopf -1-, Unterlegscheibe -2- und Gegenlager -3- von der Innenseite der Stoßfängerabdeckung -5- ansetzen.
- Das Stanzeisen -4- aufschrauben, nicht ganz bis auf die Stoßfängerabdeckung.
- Das Stanzeisen -4- an die Stoßfängerabdeckung drücken.
- Den Stanzlocher -1- festziehen.
Hinweis
Das Stanzeisen -4- darf sich nicht auf dem Lack der Stoßfängerabdeckung drehen.
- Das Stanzeisen -4- wird durch Drehen am Schraubkopf -1- durch das Material der Stoßfängerabdeckung -5- durchgezogen -Pfeile-.
- Stanzlocher entfernen und die nächsten Löcher einbringen.

- Klebeflächen an der Stoßfängerabdeckung -4- gründlich reinigen.
- Halter -2- auf den Zentrierdorn -1- aufschieben.
- Schutzfolie des doppelseitigen Klebebands -3- am Halter abziehen.
- Zentrierdorn -1- durch das Loch führen, bis der Halter an der Stoßfängerabdeckung -4- anliegt.
- Halter im Bereich der Klebefläche -3- kräftig andrücken.
- Zentrierdorn entnehmen und diese Arbeitsschritte bei allen Haltern wiederholen.
- Eine weitere Bearbeitung der Stoßfängerabdeckung erfolgt erst nach einer Mindestaushärtezeit.
Mindestaushärtezeit
Weitere Arbeiten an der Stoßfängerabdeckung und den Haltern dürfen erst nach Ablauf der Mindestaushärtezeit von 2 Stunden erfolgen.
Die Mindestaushärtezeit ist einzuhalten, damit das Klebeband seine volle Klebekraft entfalten kann.
Die Stoßfängerabdeckung muss in dieser Zeit am Arbeitsplatz liegen bleiben und darf nicht bewegt werden.
Stoßfänger vornVW Passat Reparaturanleitung > Bremse- Hydraulik,
Regler, Verstärker: Bremsleitungen
Bremsleitungen reparieren
Mit
dem Bördelgerät für Bremsleitungen -VAS 6056- lassen sich Bremsleitungen mit 5
mm Rohraußendurchmesser bördeln, ohne dabei die Beschichtung zu beschädigen.
Damit können in bestimmten Fällen Teilstücke von Bremsleitungen kostengünstiger
ersetzt werden.
Arbe ...