Benötigte Spezialwerkzeuge, Prüf- und Messgeräte sowie Hilfsmittel
Ausbauen
- Vordersitz ausbauen.

- Sitztiefenverstellung bis zum Anschlag nach vorn stellen.
- Rastnasen -Pfeile- an der Blende -1- mit dem Demontagekeil -3409- entriegeln.
- Blende -1- von der Sitztiefenverstellung abnehmen.

- Rastnasen -Pfeile- am Trägerteil mit dem Demontagekeil -3409- an der Sitztiefenverstellung entriegeln.
- Trägerteil -1- mit Sitzpolster und Sitzbezug für Sitztiefenverstellung nach oben vorn abziehen.

- Laschen -Pfeile- an der Sitztiefenverstellung -2- aushängen.
- Trägerteil mit Sitzpolster und Sitzbezug nach oben umlegen.
- Dazu Trägerteil -1- mit Sitzpolster und Sitzbezug für Sitztiefenverstellung nach oben und gleichzeitig nach vorn abziehen.

- Trägerteil -2- mit Sitzpolster und Sitzbezug der Sitztiefenverstellung auf dem Vordersitz ablegen.
Hinweis
Zur besseren Darstellung ist das Untergestell der Sitzwanne nicht abgebildet.
- Halteleisten -1- und -4- des Sitzbezugs aushängen.
- Kederleiste -3- des Sitzbezugs an der Sitztiefenverstellung ausbauen.
- Die Kederleiste nach vorn ziehen.
Vorsicht!
Beschädigungsgefahr der Rastnasen.
Beim Aus- und Einclipsen sehr vorsichtig vorgehen.

- Dazu den Sitzbezug -1- aus den Rastnasen -3- ausclipsen.

Fahrzeuge mit Steuergerät für Massagefunktion -J740-
- Steuergerät für Massagefunktion -J740- ausbauen.
- Sitztiefenverstellung herausziehen.
- Haltenasen -1- ausclipsen.
- Halter für das Steuergerät für Massagefunktion -J740--2- im Bereich der Haltenasen -1- absenken.
- Halter für das Steuergerät für Massagefunktion -J740--2- in -Pfeilrichtung- schieben.
- Halter für das Steuergerät für Massagefunktion -J740--2- aus den Aufnahmen -Pfeile- ausfädeln.

Fortsetzung für alle Fahrzeuge
- Sitztiefenverstellung nach hinten schieben.
- Schrauben -1- und -2- herausdrehen.
- Dazu an den Muttern -3- an der Sitztiefenverstellung gegenhalten.

- Rastnasen -1- und -3- mit dem Demontagekeil -3409- ausclipsen.
- Sitztiefenverstellung -2- nach oben vorn von der Sitzwanne abziehen -Pfeile-.
- Dabei die Laschen -4- aus der Sitzwanne aushängen.
- Sitztiefenverstellung vom Vordersitz abnehmen.
Einbauen
Der Einbau erfolgt in umgekehrter Reihenfolge, dabei Folgendes beachten:

- Sitzbezug -1- in die Rastnasen -3- einhängen.
- Kederleiste -2- in den hinteren Rastnasen -3- verrasten.
- Die Verrastung auf den richtigen Sitz prüfen.
Vorsicht!
Beschädigungsgefahr der Rastnasen.
Beim Aus- und Einclipsen sehr vorsichtig vorgehen.
Hinweis

Anzugsdrehmomente

Sitzneigungsverstellung aus- und einbauen
Sitzneigungsverstellung aus- und einbauen, Normalsitz, ergo Aktiv Sitz
Hinweis
Der Aus- und Einbau ist für die linke Fahrzeugseite beschrieben. Der Aus- und Einbau für die rechte Seite erfolgt sinngemäß.
Benötigte Spezialwerkzeuge, Prüf- und Messgeräte sowie Hilfsmittel
Ausbauen
- Vordersitz in die hintere, höchste Stellung fahren.
- Sitzverkleidung Schwellerseite ausbauen.

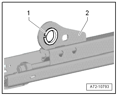
- Stufenbolzen -2- und Schraube -3- herausdrehen.
ACHTUNG!
Stufenbolzen -2- hat ein Linksgewinde!
- Sitzneigungsverstellung -1- abnehmen.
Einbauen
Der Einbau erfolgt in umgekehrter Reihenfolge, dabei Folgendes beachten:
ACHTUNG!
Stufenbolzen -2- hat ein Linksgewinde!
Anzugsdrehmomente

Sitzneigungsverstellung aus- und einbauen, elektrisch verstellbarer Sitz
Hinweis
Der Aus- und Einbau ist für die linke Fahrzeugseite beschrieben. Der Aus- und Einbau für die rechte Seite erfolgt sinngemäß.
Benötigte Spezialwerkzeuge, Prüf- und Messgeräte sowie Hilfsmittel
Ausbauen
- Vordersitz ausbauen.

- Schraube -2- für Einstellspindel -1- des Motors für Sitzneigungsverstellung (vom Hersteller voreingestellt) herausdrehen.

Vorsicht!
Beschädigungsgefahr der Buchse -1- in der Lagerstelle -2- (Verschraubung Einstellspindel/Sitzwanne).

- Elektrische Steckverbindung -3- am Motor für Sitzneigungsverstellung trennen.
- Schrauben -1- herausdrehen, Motor für Sitzneigungsverstellung -4- abnehmen.
Einbauen
Der Einbau erfolgt in umgekehrter Reihenfolge.
Anzugsdrehmomente

Griff für Sitzhöhenverstellung aus- und einbauen
Hinweis
Der Griff für Sitzhöhenverstellung kann bei eingebautem Vordersitz ersetzt werden.
Ausbauen
Hinweis
- Den Griff für Sitzhöhenverstellung -1- so weit wie möglich nach oben ziehen und ihn in dieser Stellung halten.
- Zwischen den Griff für Sitzhöhenverstellung -1- und der Blende -2- einen kleinen Schraubendreher bis zur Verrastung -3- einführen.
- Rastnase -3- mit dem Schraubendreher nach innen drücken.
- Gleichzeitig den Griff für Sitzhöhenverstellung -1- vom Hebel -4- in -Pfeilrichtung- abziehen.
Einbauen
Der Einbau erfolgt in umgekehrter Reihenfolge, dabei Folgendes beachten:
- Auf Beschädigungen und den Richtgen Sitz der Halteklammer -3- auf dem Hebel -4- achten.
- Griff für Sitzhöhenverstellung -1- auf den Hebel -4- bis zum Verrasten aufschieben.
- Nach dem Einbau prüfen, ob die Halteklammer -4- korrekt verrastet ist.
- Den Festsitz durch Gegenziehen prüfen.

Sitzhöhenverstellung aus- und einbauen
Sitzhöhenverstellung aus- und einbauen, Normalsitz, ergo Aktiv Sitz
Hinweis
Der Aus- und Einbau ist für die linke Fahrzeugseite beschrieben. Der Aus- und Einbau für die rechte Seite erfolgt sinngemäß.
Benötigte Spezialwerkzeuge, Prüf- und Messgeräte sowie Hilfsmittel
Ausbauen
- Sitz in die höchste Sitzposition stellen.
- Lehnenverstellung ausbauen.
- Griff für Sitzhöhenverstellung ausbauen.
- Sitzverkleidung Schwellerseite ausbauen.

- Schrauben -2- herausdrehen.
- Hebel -1- abnehmen.

- Sicherungsscheibe -1- ausbauen.

- Schrauben -1- und -3- herausdrehen.
- Sitzhöhenverstellung -2- abnehmen.
Einbauen
Der Einbau erfolgt in umgekehrter Reihenfolge, dabei Folgendes beachten:
Hinweis
- Den Sitz über die Lehne nach unten drücken.

- Sitzhöhenverstellung -2- ansetzen.
- Schrauben -1- und -3- festschrauben.
Anzugsdrehmomente

Sitzhöhenverstellung aus- und einbauen, elektrisch verstellbarer Sitz
Hinweis
Der Aus- und Einbau ist für die linke Fahrzeugseite beschrieben. Der Aus- und Einbau für die rechte Seite erfolgt sinngemäß.
Benötigte Spezialwerkzeuge, Prüf- und Messgeräte sowie Hilfsmittel
Ausbauen
- Vordersitz ausbauen.
- Sitzverkleidung Schwellerseite ausbauen.

- Elektrische Steckverbindung -1- am Motor für Sitzhöhenverstellung -2- trennen.

Vorsicht!
Beschädigung oder Zerstörung der Gewindebohrung in der Sitzwanne.
Beschädigungsgefahr der Buchse -3- in der Lagerstelle (Verschraubung Einstellspindel/Sitzwanne).
- Schraube -2- an der Einstellspindel -1- des Motors für Sitzhöhenverstellung herausdrehen.

- Schraube -1- für Einstellspindel für Motor für Sitzneigungsverstellung (vom Hersteller voreingestellt) herausdrehen.
- Schrauben -2- und -3- herausdrehen.
- Halter mit Motor -4- für Höhenverstellung von der Sitzwanne abnehmen.

- Schrauben -1- herausdrehen.
- Halter -2- vom Motor für Sitzhöhenverstellung -3- abnehmen.
Einbauen
Der Einbau erfolgt in umgekehrter Reihenfolge.
Anzugsdrehmomente

Untergestell der Sitzwanne mit Motor für Sitzlängsverstellung -V28-/-V31- aus- und einbauen
Ausbauen
- Vordersitz nach Möglichkeit in die höchste Stellung fahren, um die Vorspannung des Torsionsstabs so niedrig wie möglich zu halten.
- Vordersitz ausbauen.
- Gurtschloss vorn ausbauen.
- Elektrische Steckverbindung am Motor für Sitzlängsverstellung trennen.
- Elektrische Leitung vom Untergestell der Sitzwanne abclipsen und zur Seite legen.
Vorsicht!
Beschädigungsgefahr der Gewindebohrungen oder der Buchsen in der Lagerstelle (Verschraubung Ober/Untergestell).
- Schraube -3- herausdrehen.
- Schrauben -2- herausdrehen.
- Sitzwanne -1- vom Untergestell -4- abnehmen.

Vorsicht!
Beschädigungsgefahr der Buchsen -1- in den Lagerstellen -2- (Verschraubung Sitzwanne und Untergestell).
Einbauen
Der Einbau erfolgt in umgekehrter Reihenfolge.
Anzugsdrehmomente

Lehnenverstellung aus- und einbauen
Lehnenverstellung aus- und einbauen, Normalsitz ohne Durchladeeinrichtung, ergo Aktiv Sitz
Hinweis
Der Aus- und Einbau ist für die linke Fahrzeugseite beschrieben. Der Aus- und Einbau für die rechte Seite erfolgt sinngemäß.
Benötigte Spezialwerkzeuge, Prüf- und Messgeräte sowie Hilfsmittel

Ausbauen
- Die Lehnenverstellung -1- so weit drehen, bis man von hinten -Pfeil A- eine Verrastung sehen kann. Eventuell eine Taschenlampe verwenden.
- Das Montagewerkzeug -3399- einsetzen und in -Pfeilrichtung B- hebeln.
- Die Lehnenverstellung um 120º weiter drehen.
- Das Montagewerkzeug -3399- einsetzen und in -Pfeilrichtung B- hebeln.
- Lehnenverstellung abnehmen.
Einbauen
Der Einbau erfolgt in umgekehrter Reihenfolge, dabei Folgendes beachten:
- Auf die richtige Einbaulage der Lehnenverstellung achten.
- Durch Gegenziehen der Lehnenverstellung auf festsitzt prüfen.
- Sollte die Lehnenverstellung nach der Montage zu locker sitzen, ist dieses zu ersetzen.

Lehnenverstellung aus- und einbauen, Normalsitz mit Durchladeeinrichtung
Benötigte Spezialwerkzeuge, Prüf- und Messgeräte sowie Hilfsmittel

Ausbauen
- Deckel -1- am Verstell- und Entriegelungshebel -2- mit dem Demontagekeil -3409- abclipsen.
- Haltenasen -3- am Verstell- und Entriegelungshebel -2- nach außen drücken und entriegeln.
- Verstell- und Entriegelungshebel -2- von der Welle -4- abziehen und entnehmen.
Einbauen
Der Einbau erfolgt in umgekehrter Reihenfolge, dabei Folgendes beachten:
Hinweis
Auf die Einbaulage des Verstell- und Entriegelungshebels -2- achten. Den Verstell- und Entriegelungshebel -2- in der abgebildeten Position einbauen.

Lehnenverstellung aus- und einbauen, elektrisch verstellbarer Sitz
Die Lehnenverstellung mit Motor für Lehnenverstellung -V45-/-V46- kann nicht einzeln ersetzt werden. Bei einem Defekt an der Lehnenverstellung muss der Lehnenrahmen ersetzt werden.
Verstellung für Lendenwirbelstütze aus- und einbauen
Benötigte Spezialwerkzeuge, Prüf- und Messgeräte sowie Hilfsmittel
Hinweis
Der Aus- und Einbau ist für die linke Fahrzeugseite beschrieben. Der Aus- und Einbau für die rechte Seite erfolgt sinngemäß.

Ausbauen
- Verstellhebel Lendenwirbelstütze -1- mit Demontagezange -3392- von der Welle -2- abziehen.

Einbauen
Der Einbau erfolgt in umgekehrter Reihenfolge, dabei Folgendes beachten:
- Es ist darauf zu achten, dass die Verzahnung vom Verstellhebel Lendenwirbelstütze -1- mit der Verzahnung der Welle -2- übereinstimmt.
- Durch Gegenziehen den Hebel auf festen Sitz prüfen.
- Sollte der Verstellhebel nach der Montage zu locker sitzen, ist dieser zu ersetzen.

Kopfstütze aus- und einbauen
Ausbauen
Hinweis
- Vordersitz in die vordere, tiefste Stellung fahren und Sitzlehne etwa 45º neigen.
- Das Polster im Bereich der Kopfstützenführungen etwas nach unten drücken.
- Bei beiden Kopfstützenführungen das Sicherungsplättchen -1- bis zum Anschlag in Richtung Halterohr drücken.
- Kopfstütze aus der Lehne herausziehen.

Einbauen
Der Einbau erfolgt in umgekehrter Reihenfolge.
Kopfstützenführung aus- und einbauen
Ausbauen
- Lehnenbezug mit Lehnenpolster ausbauen.
Kopfstützenführung rechts
- Rastnasen nach innen drücken -Pfeile- und gleichzeitig Kopfstützenführung -1- aus dem Lehnenrahmen -2- herausziehen.
Hinweis
-Pos. 3- nicht beachten.

Kopfstützenführung links
- Rastnase nach innen drücken -Pfeile- und gleichzeitig Kopfstützenführung -1- aus dem Lehnenrahmen -2- herausziehen.
Einbauen
Der Einbau erfolgt in umgekehrter Reihenfolge, dabei Folgendes beachten:
Hinweis
Die Kopfstützenführung kann nur in einer Stellung eingesetzt werden.
Anzugsdrehmomente

Schalter für Verstellung der Lendenwirbelstütze -E176-/-E177- aus- und einbauen
Hinweis
Der Aus- und Einbau ist für die linke Fahrzeugseite beschrieben. Der Aus- und Einbau für die rechte Seite erfolgt sinngemäß.
Ausbauen
- Sitzverkleidung Schwellerseite ausbauen.
- Schrauben -1- herausdrehen.
- Schalter -2- abnehmen.
Einbauen
Der Einbau erfolgt in umgekehrter Reihenfolge.
Anzugsdrehmomente


Motor für Lendenwirbelstütze -V125-/-V126-/-V129-/-V130- aus- und einbauen
Benötigte Spezialwerkzeuge, Prüf- und Messgeräte sowie Hilfsmittel
Ausbauen
- Vordersitz ausbauen.
- Lehnenbezug mit Lehnenpolster ausbauen.

- Elektrische Steckverbindungen -1, 2- an den Motoren entriegeln und abziehen.
ACHTUNG!
Verletzungsgefahr der Augen.
Schutzbrille tragen!
- Niet -3- ausbohren.

Fortsetzung für alle Fahrzeuge
- Lendenwirbelstütze -1- unten nach vorn schwenken.
- Lendenwirbelstütze -1- oben am Lehnenrahmen -2- aushängen -Pfeile- und abnehmen.
Einbauen
Der Einbau erfolgt in umgekehrter Reihenfolge, dabei Folgendes beachten:
- Lendenwirbelstütze -1- oben am Lehnenrahmen -2- einhängen -Pfeile- und unten nach hinten schwenken.
- Lendenwirbelstütze mit dem Lehnenrahmen vernieten.
Anzugsdrehmomente

Bedienungseinheit für Sitzverstellung -E470-/-E471- aus- und einbauen
Hinweis
Der Aus- und Einbau ist für die linke Fahrzeugseite beschrieben. Der Aus- und Einbau für die rechte Seite erfolgt sinngemäß.
Benötigte Spezialwerkzeuge, Prüf- und Messgeräte sowie Hilfsmittel

Ausbauen
- Sitzverkleidung Schwellerseite ausbauen.
- Die Taster -3- und -4- vorsichtig mit dem Entriegelungswerkzeug -T10236- aus den Verrastungen der Bedienungseinheit für Sitzverstellung abhebeln.
- Schrauben -2- herausdrehen.
- Bedienungseinheit für Sitzverstellung -1- abnehmen.
Einbauen
Der Einbau erfolgt in umgekehrter Reihenfolge.
Anzugsdrehmomente


Steuergerät für Massagefunktion -J740- aus- und einbauen
Benötigte Spezialwerkzeuge, Prüf- und Messgeräte sowie Hilfsmittel

Ausbauen
- Den elektrischen Leitungsstrang -3- vom Halter abclipsen.
- Dazu den Kabelhalter -4- mit dem Demontagekeil -3409- abhebeln.
- Steckverbindungen -2- entriegeln und abziehen.
- Steuergerät für Massagefunktion -J740--1- an den Befestigungslaschen -5- entriegeln.
- Steuergerät für Massagefunktion -J740--1- aus den Aufnahmen -Pfeile- ziehen.
Einbauen
Der Einbau erfolgt in umgekehrter Reihenfolge, dabei Folgendes beachten:
- Beschädigte Kabelbinder und Clips ersetzen.
- Die elektrischen Leitungen so verlegen, dass die ursprüngliche Leitungsführung wiederhergestellt wird.
Anzugsdrehmomente

Steuergerät für Sitzverstellung und Lenksäulenverstellung mit Memoryfunktion -J136- aus- und einbauen
Der Aus- und Einbau vom Steuergerät für Sitzverstellung und Lenksäulenverstellung mit Memoryfunktion -J136- ist identisch mit dem Aus- und Einbau vom Steuergerät für Massagefunktion -J740-.
- Steuergerät für Massagefunktion -J740- aus- und einbauen.
Sitzverkleidung
Tunnelseite aus- und einbauen
RücksitzeVolkswagen Passat Variant Betriebsanleitung > An der Tankstelle. Tanken: Fehlbetankungsschutz bei Dieselfahrzeugen
Abb. 243 Bei geöffneter Tankklappe: Fehlbetankungsschutz
im Tankeinfüllstutzen.
Lesen und beachten Sie zuerst die einleitenden Informationen
und Sicherheitshinweise →Einleitung
zum Thema Der Tankeinfüllstutzen von Dieselfahrzeugen kann mit einem Fehlbetankungsschutz
ausgestattet sei ...